LEMON Manuals: Even more car manuals for everyone: 1960-2025
Home >> Infiniti >> 2008 >> G37 Base >> Repair and Diagnosis >> External Pages >> Different car >> Section 48 (Body Control System) >> Component Diagnosis >> Combination Switch >> Description >> Combination Switch Matrix
April 5, 2026: LEMON Manuals is launched! Read the announcement.

Combination Switch Matrix

WARNING: This page is about a different car, the 2008 Nissan Titan. However, it is still accessible from the selected car via links, so may be relevant.

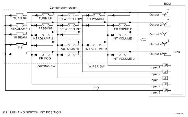
Combination switch consists of INPUT circuit and OUTPUT circuit.

Fig 1: Combination Switch Circuit Diagram
G04896642Courtesy of NISSAN MOTOR CO., U.S.A.

Combination switch INPUT-OUTPUT system list

COMBINATION SWITCH INPUT-OUTPUT SYSTEM LIST

System OUTPUT 1 OUTPUT 2 OUTPUT 3 OUTPUT 4 OUTPUT 5
INPUT 1 - FR WASHER FR WIPER LOW TURN LH TURN RH
INPUT 2 FR WIPER HI - FR WIPER INT PASSING HEADLAMP 1
INPUT 3 INT VOLUME 1 - - HEADLAMP 2 HI BEAM
INPUT 4 - INT VOLUME 3 AUTO LIGHT - TAIL LAMP
INPUT 5 INT VOLUME 2 - - FR FOG -
NOTE: Headlamp has a dual system switch.