LEMON Manuals: Even more car manuals for everyone: 1960-2025
Home >> Infiniti >> 2008 >> G37 Base >> Repair and Diagnosis >> External Pages >> Different car >> Section 49 (Audio, Visual & Navigation System) >> Premium With Navigation >> On-Vehicle Repair >> Audio Unit >> NAVI Control Unit >> Removal and Installation
April 5, 2026: LEMON Manuals is launched! Read the announcement.

Removal and Installation

WARNING: This page is about a different car, the 2008 Nissan Titan. However, it is still accessible from the selected car via links, so may be relevant.

NAVI CONTROL UNIT 

Removal 

CAUTION: To avoid damage, eject map DVD-ROM before removing the NAVI control unit.
  1. Disconnect the negative battery terminal.
  2. Remove the Bluetooth control unit. Refer to , "REMOVAL AND INSTALLATION ".
  3. Remove the front passenger seat. Refer to "REMOVAL AND INSTALLATION ".
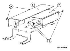
  4. Remove the NAVI control unit kick shield screws (A).
    • NAVI control unit (2)
    • NAVI control unit screws (B)
  5. Remove the NAVI control unit kick shield (1).
    Fig 1: Identifying NAVI Control Unit Screws And NAVI Control Unit
    G04904341Courtesy of NISSAN MOTOR CO., U.S.A.
  6. Disconnect the NAVI control unit connectors (B).
    • Bluetooth bracket rear bolts (C)
  7. Remove the NAVI control unit screws.
    Fig 2: Identifying NAVI Control Unit Connectors And Bluetooth Bracket Rear Bolts
    G05708409Courtesy of NISSAN MOTOR CO., U.S.A.
  8. Remove the NAVI control unit.

Installation 

Installation is in the reverse order of removal.