LEMON Manuals: Even more car manuals for everyone: 1960-2025
Home >> Infiniti >> 2008 >> M35 Base >> Repair and Diagnosis >> Engine Performance >> Engine Control Systems >> Engine Control System (VQ35DE) - Component And System Testing >> ICC Brake Switch >> Component Inspection >> ICC Brake Hold Relay
April 5, 2026: LEMON Manuals is launched! Read the announcement.

ICC Brake Hold Relay

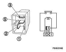
  1. Check continuity between ICC brake hold relay terminals 3 and 5 under the following conditions.
    CONTINUITY REFERENCE CHART

    Condition Continuity
    12V direct current supply between terminals 1 and 2 Should not exist
    No current supply Should exist
  2. If NG, replace ICC brake hold relay.
    Fig 1: Checking Continuity Between ICC Brake Hold Relay Terminals 3 And 5
    G04889520Courtesy of NISSAN MOTOR CO., U.S.A.