LEMON Manuals: Even more car manuals for everyone: 1960-2025
Home >> Infiniti >> 2008 >> M35 Base >> Repair and Diagnosis >> Transmission >> Automatic Transmission >> A/T Shift Lock System >> Diagnostic Procedure
April 5, 2026: LEMON Manuals is launched! Read the announcement.

Diagnostic Procedure

SYMPTOM: 

  1. CHECK SELECTOR LEVER POSITION 

    Check the selector lever position for damage. Refer to "CHECKING OF A/T POSITION ".

    OK or NG 

    OK: GO TO 2.

    NG: Adjust control linkage. Refer to "ADJUSTMENT OF A/T POSITION ".

  2. CHECK POWER SOURCE 
    1. Turn ignition switch OFF.
    2. Disconnect shift lock relay.
    3. Check voltage between shift lock relay E35 terminal 2 and ground.

      Voltage 

      Brake pedal depressed: Battery voltage 

      Brake pedal released: 0 V 

      Fig 1: Measuring Voltage Between Shift Lock Relay E19 Terminal 2 And Ground
      G04875894Courtesy of NISSAN MOTOR CO., U.S.A.

    OK or NG 

    OK: GO TO  4.

    NG: GO TO 3.

  3. DETECT MALFUNCTIONING ITEM 

    Check the following.

    • Harness for short or open between battery and stop lamp switch harness connector E124 terminal 1
    • Harness for short or open between stop lamp switch harness connector E124 terminal 2 and shift lock relay E35 terminal 2
    • 10A fuse [No.20, located in the fuse block (J/B)]
    • Stop lamp switch
      • Check continuity between stop lamp switch harness connector E124 terminals 1 and 2
        Fig 2: Measuring Continuity Between Stop Lamp Switch Harness Connector E124 Terminals 1 And 2
        G05213351Courtesy of NISSAN MOTOR CO., U.S.A.

      Check stop lamp switch after adjusting brake pedal -  Refer to "BRAKE PEDAL ".

    • ICC brake hold relay. Refer to ICC BRAKE HOLD RELAY . (With ICC only)
    • Harness for short or open between battery and ICC brake hold relay E80 terminal 3. Refer to C1A13 STOP LAMP RLY FIX . (With ICC only)
    • Harness for short or open between ICC brake hold relay E80 terminal 5 and shift lock relay E35 terminal 2. (With ICC only)
    • Harness for short or open between ICC sensor integrated unit harness connector E61 terminal 2 and ICC brake hold relay E80 terminal 2. Refer to C1A13 STOP LAMP RLY FIX . (With ICC only)
    • Harness for short or open between ICC brake hold relay E80 terminal 1 and ground. Refer to C1A13 STOP LAMP RLY FIX . (With ICC only)

    OK or NG 

    OK: GO TO  4.

    NG: Repair or replace damaged parts.

  4. CHECK GROUND CIRCUIT 
    1. Turn ignition switch OFF.
    2. Disconnect shift lock relay.
    3. Check continuity between shift lock relay E35 terminal 1 and ground.
      CAUTION: Connect test probe (BLACK) to shift lock relay, and test probe (RED) to ground.

      Continuity should exist  .

      Fig 3: Measuring Continuity Between Shift Lock Relay E19 Terminal 1 And Ground
      G04875896Courtesy of NISSAN MOTOR CO., U.S.A.

      If OK, check harness for short to ground and short to power.

    OK or NG 

    OK: GO TO  5.

    NG: Repair open circuit or short to ground or short to power in harness or connectors.

  5. CHECK INPUT SIGNAL A/T DEVICE 
    1. Turn ignition switch OFF.
    2. Disconnect A/T device harness connector.
    3. Turn ignition switch ON.
    4. Check voltage between A/T device harness connector M133 terminal 7 and ground.

      Voltage 

      Brake pedal depressed: Battery voltage 

      Brake pedal released: 0 V 

      Fig 4: Measuring Voltage Between A/T Device Harness Connector M133 Terminal 7 And Ground
      G05213353Courtesy of NISSAN MOTOR CO., U.S.A.

    OK or NG 

    OK: GO TO  7.

    NG: GO TO  66.

  6. DETECT MALFUNCTIONING ITEM 

    Check the following.

    • Harness for short or open between push-button ignition switch and shift lock relay E35 terminal 5
    • Harness for short or open between shift lock relay E35 terminal 3 and A/T device harness connector M133 terminal 7
    • 10A fuse [No.12, located in the fuse block (J/B)]
    • Push-button ignition switch (Refer to "POWER SUPPLY ROUTING CIRCUIT ".)
    • Shift lock relay
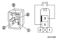
      • Check continuity between shift lock relay E35 terminal 3 and 5
        CONTINUITY CHART

        Condition Continuity
        12V direct current supply between terminal 1 and 2 Yes
        OFF No
        Fig 5: Checking Continuity Between Relay Terminals 3 And 5
        G04901469Courtesy of NISSAN MOTOR CO., U.S.A.

    OK or NG 

    OK: GO TO 7.

    NG: Repair or replace damaged parts.

  7. CHECK GROUND CIRCUIT 
    1. Turn ignition switch OFF.
    2. Disconnect A/T device harness connector.
    3. Check continuity between A/T device harness connector M133 terminal 8 and ground.

      Continuity should exist  .

      Fig 6: Measuring Continuity Between A/T Device Harness Connector M133 Terminal 8 And Ground
      G05213355Courtesy of NISSAN MOTOR CO., U.S.A.

      If OK, check harness for short to ground and short to power.

    OK or NG 

    OK: GO TO 8.

    NG: Repair open circuit or short to ground or short to power in harness or connectors.

  8. CHECK SHIFT LOCK SOLENOID 
    1. Connect A/T device harness connector.
    2. Turn ignition switch ON.
    3. Check shift lock solenoid operation.
      BRAKE PEDAL OPERATION

      Condition Brake pedal Operation
      When ignition switch is turned to ON position and selector lever is set in "P" position. Depressed Yes
      Released No

    OK or NG 

    OK: INSPECTION END 

    NG: Repair or replace damage parts.