LEMON Manuals: Even more car manuals for everyone: 1960-2025
Home >> Infiniti >> 2008 >> M45 Base >> Repair and Diagnosis >> External Pages >> Different car >> Section 105 (Introduction) >> Repair Instruction >> Customize Parameters
April 5, 2026: LEMON Manuals is launched! Read the announcement.

Customize Parameters

WARNING: This page is about a different car, the 2008 Toyota Tundra. However, it is still accessible from the selected car via links, so may be relevant.

HINT:

The following items can be customized.

NOTE:
  • When the customer requests a change in a function, first make sure that the function can be customized.
  • Be sure to make a note of the current settings before customizing.
  • When troubleshooting a function, first make sure that the function is set to the default setting.
  1. CUSTOMIZING FUNCTION WITH THE TECHSTREAM 
    1. POWER TILT AND POWER TELESCOPIC STEERING COLUMN SYSTEM

      Tilt & Telescopic 

      TILT AND TELESCOPIC CUSTOMIZE PARAMETERS

      Display Default Contents Setting
      Autoaway/Return function ON ON/OFF of the auto away/return function ON/OFF
    2. AIR CONDITIONING SYSTEM (for Automatic Air Conditioning System)

      Air Conditioner 

      AIR CONDITIONING SYSTEM (FOR AUTOMATIC AIR CONDITIONING SYSTEM) CUSTOMIZE PARAMETERS

      Display Default Contents Setting
      Set Temperature Shift Normal Function to control the shifted temperature in relation to the displayed temperature +2 C/+1 C/Normal/-1 C/-2 C
      Air Inlet Mode Automatic In case of turning the A/C ON to cool down the cabin quickly, this is the function to change the mode automatically to RECIRCULATION mode Manual/Automatic
      Compressor Mode Automatic Function to turn the A/C ON automatically by pressing the AUTO button when the blower is ON and the A/C is OFF Manual/Automatic
      Compressor/Air Inlet DEF Operation Link Function to turn the A/C ON automatically Inked with the FRONT DEF button when A/C is OFF Normal/Link
      Foot/DEF Auto Mode ON Function to turn the airflow from FOOT/DEF ON automatically when AUTO MODE is ON OFF/ON
      Foot/DEF Autotic Blow Up Function ON Function to change the blower level automatically when the defroster is ON OFF/ON
      Ambient Temperature Shift Normal Function to control the shifted ambient temperature in relation to the displayed ambient temperature +3 C/+2 C/+1 C/Normal/-1 C/-2 C/-3 C
    3. AIR CONDITIONING SYSTEM (for Manual Air Conditioning System)

      Air Conditioner 

      AIR CONDITIONING SYSTEM (FOR MANUAL AIR CONDITIONING SYSTEM) CUSTOMIZE PARAMETERS

      Display Default Contents Setting
      Ambient Temperature Shift Normal Function to control the shifted ambient temperature in relation to the displayed ambient temperature +3 C/+2 C/+1 C/Normal/-1 C/-2 C/-3 C
    4. THEFT DETERRENT SYSTEM

      Main Body 

      THEFT DETERRENT SYSTEM (MAIN BODY) CUSTOMIZE PARAMETERS

      Display Default Contents Setting
      Warning by Horn ON Function that allows vehicle horns and theft deterrent horn to be used as warning device. ON or OFF
      Passive Mode (Security system) OFF Passive arming mode is function that switches theft deterrent system from arming preparation state to armed state 30 seconds after key is not inside vehicle and driver side door is closed. In passive arming mode, theft deterrent system will judge that theft is taking place and switch to alarm sounding state if one of following operations are not performed within 14 seconds (see entry delay below) after door is opened:
      • Unlock any door by key or wireless operation
      • Turn ignition switch ON
      ON or OFF
      Entry Delay 14 s Function that changes entry delay time (time before warning starts) for PASSIVE ARMING MODE 0 s/14 s/30 s
      Warning by Glass Broken Sensor* ON Function that turns glass breakage sensor ON/OFF.
      This function is only effective for vehicles with glass breakage sensor.
      ON or OFF
      HINT:
      *: w/ Glass Breakage Sensor
    5. LIGHTING SYSTEM

      Main Body 

      LIGHTING SYSTEM (MAIN BODY) CUSTOMIZE PARAMETERS

      Display Default Contents Setting
      I/L ON/ACC OFF ON Illuminates light when ignition switch turned to ACC (Room light illuminated when interior light switch set to DOOR) ON/OFF
      Lighting Time 15s Changes illumination duration after door closure (It will quickly fade out when turning ignition switch ON) 7.5s/15s/30s
      I/L ON/Unlock ON Function to light up room light when unlocking with door key cylinder (Room light illuminated when interior light switch set to DOOR) ON/OFF
      Light OFF Delay 30s Function to continue illuminating headlight for certain period of time after closing all doors with ignition switch turned from ON to OFF under condition that light control switch is at HEAD or AUTO with the headlight ON OFF/30s/60s/90s
      Sensitivity NORMAL Function to adjust sensitivity of lighting illumination*1 LIGHT2/LIGHT1/NORMAL/DARK1/DARK2
      Disp Ex ON Sen NORMAL Changes brightness when lowering lights such as combination meter indicator light, A/C indicator light, and clock light*2 LIGHT2/LIGHT1/NORMAL/DARK1/DARK2
      Disp Ex OFF Sen NORMAL Changes brightness when canceling lowering lights such as combination meter indicator light, A/C indicator light, and clock light*3 LIGHT2/LIGHT1/NORMAL/DARK1/DARK2
      HINT:
      *1: The sensitivity adjustment may be difficult to confirm. Check by driving the customer's vehicle.
      Fig 1: Sensitivity Adjustment Table (1 Of 3)
      G05680058Courtesy of © TOYOTA, LICENSE AGREEMENT TMS1002
      Fig 2: Sensitivity Adjustment Table (2 Of 3)
      G05680059Courtesy of © TOYOTA, LICENSE AGREEMENT TMS1002
      Fig 3: Sensitivity Adjustment Table (3 Of 3)
      G05680060Courtesy of © TOYOTA, LICENSE AGREEMENT TMS1002
    6. POWER DOOR LOCK CONTROL SYSTEM

      Main Body 

      POWER DOOR LOCK CONTROL SYSTEM (MAIN BODY) CUSTOMIZE PARAMETERS

      Display Default Contents Setting
      Unlock Key Twice ON Function that unlocks only driver side door when driver side door key cylinder is turned to unlock once, and unlock all doors when it is turned to unlock twice. For OFF setting, turning it once unlocks all doors. ON/OFF
      Auto lock OFF Function that locks all doors when vehicle speed reaches a certain level. ON/OFF
      Auto Lock/Shift ON With engine running and all doors closed, function that locks all doors when lever is moved to P from any position other than P. ON/OFF
      Auto Unlock/Shift ON Function that unlocks all doors when lever is moved to P from any position other than P while ignition switch is ON. ON/OFF
      All Unlock/Open-Close OFF Function that unlocks all other doors when opening driver door within 10 seconds after turning ignition switch ON. ON/OFF
    7. WIRELESS DOOR LOCK CONTROL SYSTEM

      Main Body 

      WIRELESS DOOR LOCK CONTROL SYSTEM (MAIN BODY) CUSTOMIZE PARAMETERS

      Display Default Contents Setting
      Hazard Answer Back ON When LOCK switch on transmitter is pressed, all hazard warning lights illuminate once. When UNLOCK switch is pressed, all hazard warning lights illuminate twice. ON/OFF
      Wireless Buzzer Resp ON Function that makes wireless buzzer sound for answer-back when transmitter LOCK/UNLOCK switch is pressed. ON/OFF
      Open Door Warning ON If door is not completely closed and transmitter LOCK switch is pressed, this function sounds a buzzer for 10 seconds. ON/OFF
      Wireless Control ON ON/OFF of wireless door lock function. ON/OFF
      Panic Function ON Operates security alarm when PANIC switch on transmitter is continuously pressed for 1 second. ON/OFF
      Unlock 2 Operation ON Function that unlocks driver side door when unlock switch on transmitter is pressed once, and unlocks all doors when pressed twice. If setting is OFF, pressing unlock switch once makes all doors unlock. ON/OFF
      Wireless Auto Lock ON Function to control automatic relocking of doors after unlocking with wireless door lock function. ON/OFF
      Auto Lock Time 30 seconds Function to change time until relocking after unlocking. 60 seconds/30 seconds
    8. METER/GAUGE SYSTEM

      Warning: 

      WARNING CUSTOMIZE PARAMETERS

      Display (Item) Default Contents Setting
      Key Remind Volume Large To change volume of key reminder buzzer Large/Medium/Small
      Key Remind Sound 1200 To change frequency of key reminder buzzer 600/900/1200
      P-Seatbelt Warning Buzzer ON To change setting of passenger side seat belt warning buzzer ON/OFF
    9. SLIDING ROOF SYSTEM

      Sliding Roof 

      SLIDING ROOF CUSTOMIZE PARAMETERS

      Display (Item) Default Contents Setting
      Door Key Related Open ON Function to manually open sliding roof linked with power window if holding driver side door key for 3 seconds or more to unlock position when ignition switch is OFF ON/OFF
      Door Key Related Close ON Function to manually close sliding roof linked with power window if holding driver side door key for 3 seconds or more to lock position when ignition switch is OFF ON/OFF
      Door Key Related Operation SLIDE Function to select tilt up or slide open of manual sliding roof operation linked with power window activated by holding driver side door key for 3 seconds or more to unlock position when ignition switch is OFF TILT/SLIDE
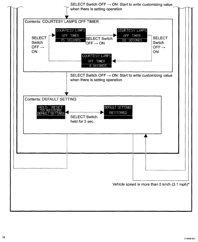
  2. CUSTOMIZING FUNCTION WITH MULTI-INFORMATION DISPLAY (w/Multi-information Display) 
    1. Using the SETUP switch and SELECT switch, the following functions can be customized through the multi-information display. Refer to the graphics below.
      • Unit setting
      • Wireless door lock control system (answer-back function, automatic lock function, 2-step unlock function)
      • Power door lock control system (automatic door lock function, automatic door unlock function)
      • Lighting system (auto light turn off function)
      • Default setting (customize setting cancel function)
        Fig 4: Customizing Function With Multi-Information Display (W/Multi-Information Display) (1 Of 4)
        G05157050Courtesy of © TOYOTA, LICENSE AGREEMENT TMS1002
        Fig 5: Customizing Function With Multi-Information Display (W/Multi-Information Display) (2 Of 4)
        G05157051Courtesy of © TOYOTA, LICENSE AGREEMENT TMS1002
        Fig 6: Customizing Function With Multi-Information Display (W/Multi-Information Display) (3 Of 4)
        G05157052Courtesy of © TOYOTA, LICENSE AGREEMENT TMS1002
        Fig 7: Customizing Function With Multi-Information Display (W/Multi-Information Display) (4 Of 4)
        G05157053Courtesy of © TOYOTA, LICENSE AGREEMENT TMS1002

      HINT:

      *: When setting change operation is performed by SELECT switch, writing of customized value must be performed.