LEMON Manuals: Even more car manuals for everyone: 1960-2025
Home >> Infiniti >> 2009 >> EX35 Base, AWD >> Repair and Diagnosis >> Engine Performance >> System >> Engine Control System - Component Testing >> ICC Brake Switch >> Component Inspection (ICC Brake Hold Relay)
April 5, 2026: LEMON Manuals is launched! Read the announcement.

Component Inspection (ICC Brake Hold Relay)

  1. CHECK ICC BRAKE HOLD RELAY
    1. Turn ignition switch OFF.
    2. Remove ICC brake hold relay.
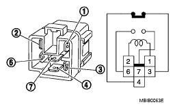
    3. Check the continuity between ICC brake hold relay terminals under the following conditions.
      CONTINUITY CHART

      Terminal Condition Continuity
      3 and 4 12 V direct current supply between terminal 1 and 2 Not existed
      No current supply Existed
      6 and 7 12 V direct current supply between terminal 1 and 2 Existed
      No current supply Not existed

      Is the inspection result normal? 

      YES: INSPECTION END

      NO: Replace ICC brake hold relay.

      Fig 1: Identifying ICC Brake Hold Relay Terminals
      G05229058Courtesy of NISSAN MOTOR CO., U.S.A.