LEMON Manuals: Even more car manuals for everyone: 1960-2025
Home >> Infiniti >> 2009 >> FX50 >> Repair and Diagnosis (Single Page) >> Transmission >> Automatic Transmission >> Function Diagnosis >> Shift Pattern Control >> System Diagram
April 5, 2026: LEMON Manuals is launched! Read the announcement.

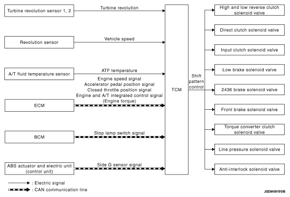
System Diagram

Fig 1: Shift Pattern Control System Diagram
G05980302Courtesy of NISSAN MOTOR CO., U.S.A.