LEMON Manuals: Even more car manuals for everyone: 1960-2025
Home >> Infiniti >> 2009 >> FX50 >> Repair and Diagnosis >> Transmission >> Automatic Transmission >> Function Diagnosis >> Shift Change Control >> System Diagram
April 5, 2026: LEMON Manuals is launched! Read the announcement.

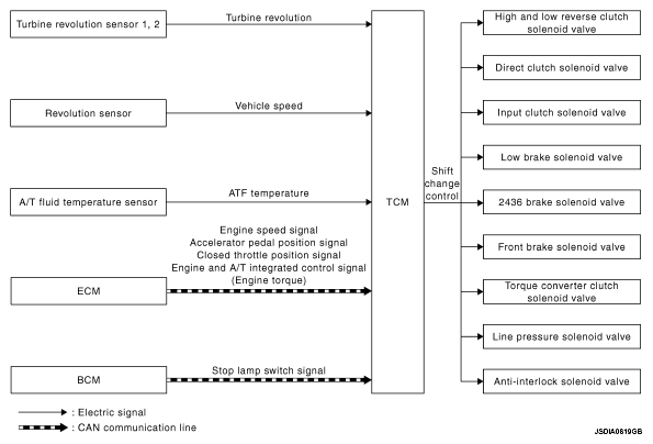
System Diagram

Fig 1: Shift Change Control System Diagram
G05980294Courtesy of NISSAN MOTOR CO., U.S.A.