LEMON Manuals: Even more car manuals for everyone: 1960-2025
Home >> Infiniti >> 2009 >> G37 Base, 2D Convertible >> Repair and Diagnosis (Single Page) >> Accessories & Equipment >> Infotainment >> Audio, Visual & Navigation System (BOSE Without Navigation) -- Convertible >> System Description >> Audio System >> System Diagram
April 5, 2026: LEMON Manuals is launched! Read the announcement.

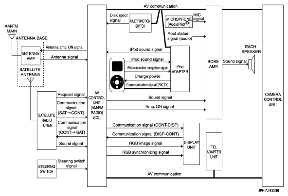
System Diagram

Fig 1: Audio System Diagram
G05970916Courtesy of NISSAN MOTOR CO., U.S.A.
NOTE:
  • The name MULTIFUNCTION SWITCH indicates the integration of PRESET SWITCH and MULTIFUNCTION SWITCH virtually.
  • An antenna base integrated with radio antenna and satellite radio antenna is adopted.
    Fig 2: Radio And Satellite Radio Antenna Circuit Diagram
    G05731530Courtesy of NISSAN MOTOR CO., U.S.A.