LEMON Manuals: Even more car manuals for everyone: 1960-2025
Home >> Infiniti >> 2009 >> G37 Base, 2D Convertible >> Repair and Diagnosis (Single Page) >> Steering >> Steering Control Systems >> Steering Control System -- Convertible >> Ecu Diagnosis Information >> Power Steering Control Unit >> Wiring Diagram - ELECTRONICALLY CONTROLLED POWER STEERING SYSTEM -
April 5, 2026: LEMON Manuals is launched! Read the announcement.

Wiring Diagram - ELECTRONICALLY CONTROLLED POWER STEERING SYSTEM -

Fig 1: Electronically Controlled Power Steering System - Wiring Diagram
G05973740Courtesy of NISSAN MOTOR CO., U.S.A.
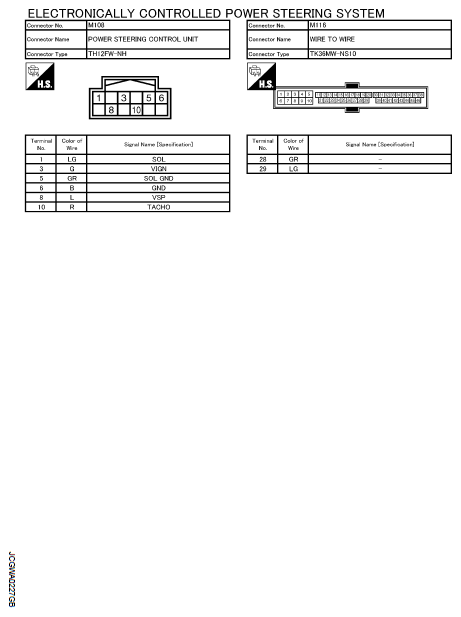
Fig 2: Electronically Controlled Power Steering System Connectors (1 Of 2)
G05973741Courtesy of NISSAN MOTOR CO., U.S.A.
Fig 3: Electronically Controlled Power Steering System Connectors (2 Of 2)
G05973742Courtesy of NISSAN MOTOR CO., U.S.A.