LEMON Manuals: Even more car manuals for everyone: 1960-2025
Home >> Infiniti >> 2009 >> G37 Base, 2D Convertible >> Repair and Diagnosis >> Body & Frame >> Door Locks >> Security Control System -- Convertible >> System Description >> Vehicle Security System >> System Diagram
April 5, 2026: LEMON Manuals is launched! Read the announcement.

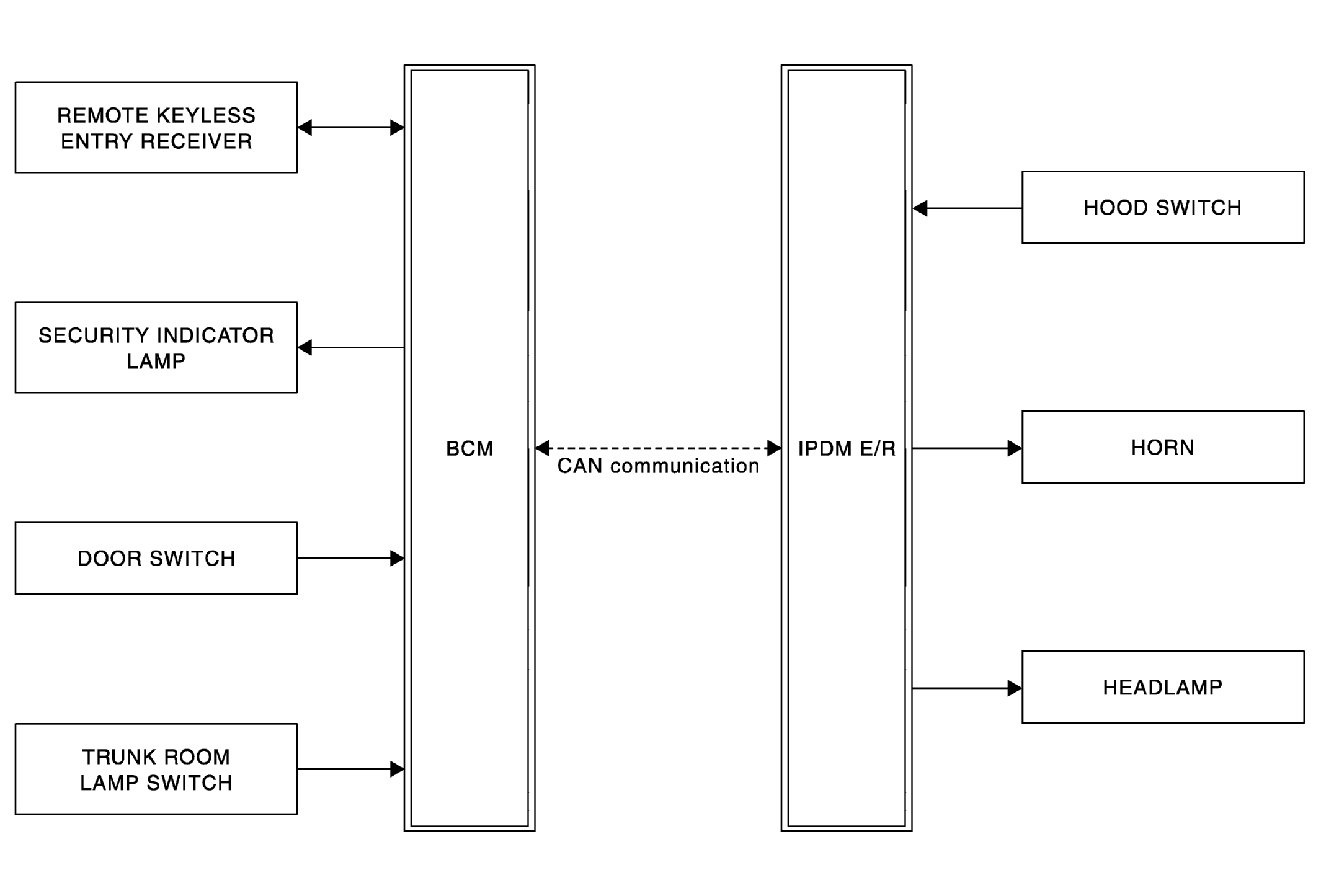
System Diagram

Fig 1: BCM And IPDM E/R Communication Diagram
G05974267Courtesy of NISSAN MOTOR CO., U.S.A.