Installation Of Steering Column Assembly
WARNING: This page is about a different car, the 2008 Infiniti M45 and 2008 Infiniti M35. However, it is still accessible from the selected car via links, so may be relevant.
- Installation is the reverse order of removal. For tightening torque, refer to "COMPONENTS ".
- After lower shaft fitted, make sure there is no gap (A) between the upper joint (1) and lower shaft.
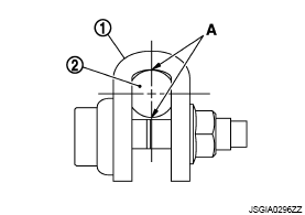
- When installing upper joint, the angle which upper joint yoke (1) forms with shaft center groove (A) should be at 90°.
- Adjust neutral position of steering angle sensor. Refer to "ADJUSTMENT OF STEERING ANGLE SENSOR NEUTRAL POSITION ".