LEMON Manuals: Even more car manuals for everyone: 1960-2025
Home >> Infiniti >> 2009 >> M35 Base >> Repair and Diagnosis >> External Pages >> Different car >> Section 160 (Audio, Visual & Navigation System) >> Without Mobile Entertainment System >> On-Vehicle Repair >> Rear View Camera >> Adjustment
April 5, 2026: LEMON Manuals is launched! Read the announcement.

Rear View Camera: Adjustment

WARNING: This page is about a different car, the 2008 Infiniti M45 and 2008 Infiniti M35. However, it is still accessible from the selected car via links, so may be relevant.

Adjust the guide line position if the guide line position is shifted after installing the rear view camera.

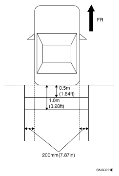
  1. Draw lines on rearward area of the vehicle passing through the following points: 200 mm (7.87 in) from both sides of the vehicle, and 0.5 m (1.64 ft), 1.0 m (3.28 ft) from the rear end of the bumper.
  2. Set into "Adjust offset of rear view camera" mode of Confirmation/Adjustment mode.
    Fig 1: Identifying Rear View Camera Dimension
    G05722545Courtesy of NISSAN MOTOR CO., U.S.A.
  3. Rotate the center dial, and then select the guiding line pattern so that its angle is aligned with the correction line of the rear of the vehicle.

    Selected pattern: 7 

  4. Make fine adjustment to the correction line of the rear of the vehicle with up/down/left/right switches so that its position is aligned with the guiding line. Press ""
    Fig 2: Identifying Screen Display - Guiding Line Pattern
    G05722546Courtesy of NISSAN MOTOR CO., U.S.A.

    Up/Down adjustment range: -20 - 20 

    Left/Right adjustment range: -20 - 20 

    CAUTION: Never operate other function such as pressing BACK while writing index data. If Confirmation/Adjustment mode does not function in the above procedure, perform one of the following service to adjust the index again.
    • Remove battery for five min. Then reconnect battery.
    • Remove camera control unit connector for five min. Then reconnect camera control unit connector.