LEMON Manuals: Even more car manuals for everyone: 1960-2025
Home >> Infiniti >> 2009 >> M35 Base >> Repair and Diagnosis >> External Pages >> Different car >> Section 39 (Lighting System) >> Cargo Light Switch >> Installation
April 5, 2026: LEMON Manuals is launched! Read the announcement.

Cargo Light Switch: Installation

WARNING: This page is about a different car, the 2008 Toyota Tundra. However, it is still accessible from the selected car via links, so may be relevant.
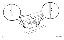
  1. INSTALL CARGO LIGHT SWITCH 
    1. Attach the 2 claws to install the light switch.
    2. Fig 1: Identifying Cargo Light Switch Claws
      G05160955Courtesy of © TOYOTA, LICENSE AGREEMENT TMS1002
  2. INSTALL LOWER INSTRUMENT PANEL FINISH PANEL SUB-ASSEMBLY LH 
  3. INSTALL INSTRUMENT SIDE PANEL LH  (See INSTALLATION )
  4. INSTALL COWL SIDE TRIM BOARD LH  (See INSTALLATION )
  5. INSTALL FRONT DOOR SCUFF PLATE LH (for Regular Cab)  (See INSTALLATION )
  6. INSTALL FRONT DOOR SCUFF PLATE LH (for Double Cab)  (See INSTALLATION )