LEMON Manuals: Even more car manuals for everyone: 1960-2025
Home >> Infiniti >> 2009 >> M35 Base >> Repair and Diagnosis >> External Pages >> Different car >> Section 39 (Lighting System) >> Lighting System >> Headlight Signal Circuit >> Inspection Procedure
April 5, 2026: LEMON Manuals is launched! Read the announcement.

Inspection Procedure

WARNING: This page is about a different car, the 2008 Toyota Tundra. However, it is still accessible from the selected car via links, so may be relevant.
  1. PERFORM ACTIVE TEST BY TECHSTREAM (HEADLIGHT) 
    1. Operate the Techstream according to the steps on the display and select "Active Test".
      1. Techstream

        Main Body ECU 

        MAIN BODY ECU - TECHSTREAM ACTIVE TEST CHART

        Tester Display Test Part Control Range Diagnostic Note
        Head Light Headlight ON or OFF -

        OK: Headlight low beam turns on / turns off. 

    NG: Go to step 2 

    OK: PROCEED TO NEXT CIRCUIT INSPECTION SHOWN IN  PROBLEM SYMPTOMS TABLE  

  2. INSPECT FUSE (HEAD LL, HEAD LR) 
    1. Remove the HEAD LL and HEAD LR fuses from the engine room junction block.
    2. Measure the resistance according to the value(s) in the table below.

      Standard resistance 

      FUSE (HEAD LL, HEAD LR)

      Tester Connection Condition Specified Condition
      HEAD LL fuse Always Below 1 Ω
      HEAD LR fuse

    NG: REPLACE FUSE 

    OK: Go to next step 

  3. CHECK HARNESS AND CONNECTOR (HEADLIGHT LOW BULB - BATTERY) 
    1. for LH:
      1. Disconnect the A10 headlight connector.
        Fig 1: Identifying Headlight Connector Terminals - LH
        G05160782Courtesy of © TOYOTA, LICENSE AGREEMENT TMS1002
      2. Measure the voltage according to the value(s) in the table below.

        Standard voltage 

        HEADLIGHT LOW BULB - BATTERY LH

        Tester Connection Switch Condition Specified Condition
        A10-2 - Body ground Light control switch HEAD, dimmer switch Low 11 to 14 V
        Light control switch HEAD, dimmer switch except Low Below 1 V
    2. for RH:
      1. Disconnect the A11 headlight connector.
        Fig 2: Identifying Headlight Connector Terminals - RH
        G05160783Courtesy of © TOYOTA, LICENSE AGREEMENT TMS1002
      2. Measure the voltage according to the value(s) in the table below.

        Standard voltage 

        HEADLIGHT LOW BULB - BATTERY RH

        Tester Connection Switch Condition Specified Condition
        A11-2 - Body ground Light control switch HEAD, dimmer switch Low 11 to 14 V
        Light control switch HEAD, dimmer switch except Low Below 1 V

    NG: Go to step 4 

    OK: REPAIR OR REPLACE HARNESS OR CONNECTOR (HEADLIGHT LOW BULB - BODY GROUND) 

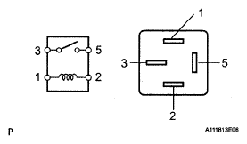
  4. INSPECT HEADLIGHT RELAY (HEAD) 
    1. Remove the headlight relay from the engine room relay block.
      Fig 3: Identifying Headlight Relay (Head) Terminals
      G05160751Courtesy of © TOYOTA, LICENSE AGREEMENT TMS1002
    2. Measure the resistance according to the value(s) in the table below.

      Standard resistance 

      HEADLIGHT RELAY (HEAD)

      Tester Connection Condition Specified Condition
      3 - 5 When battery voltage is not applied to terminals land 2 10 kΩ or higher
      When battery voltage is applied to terminals 1 and 2 Below 1 Ω

    NG: REPLACE HEADLIGHT RELAY 

    OK: Go to next step 

  5. CHECK HARNESS AND CONNECTOR (HEADLIGHT RELAY - BATTERY) 
    1. Remove the headlight relay from the engine room relay block.
      Fig 4: Identifying Headlight Relay (Head) Terminals
      G05160785Courtesy of © TOYOTA, LICENSE AGREEMENT TMS1002
    2. Measure the voltage according to the value(s) in the table below.

      Standard voltage 

      HEADLIGHT RELAY - BATTERY

      Tester Connection Condition Specified Condition
      Headlight relay terminal 1 - Body ground Always 11 to 14 V
      Headlight relay terminal 3 - Body ground

    NG: REPAIR OR REPLACE HARNESS OR CONNECTOR 

    OK: Go to next step 

  6. CHECK HARNESS AND CONNECTOR (HEADLIGHT RELAY - HEADLIGHT LOW BULB) 
    Fig 5: Identifying Headlight Relay (Head) And Headlight Connector Terminals
    G05160786Courtesy of © TOYOTA, LICENSE AGREEMENT TMS1002
    1. Remove the headlight relay from the engine room relay block.
    2. for LH:
      1. Disconnect the A10 headlight connector.
      2. Measure the resistance according to the value(s) in the table below.

        Standard resistance 

        HEADLIGHT RELAY - HEADLIGHT LOW BULB LH

        Tester Connection Condition Specified Condition
        Headlight relay terminal 5 - A10-2 Always Below 1 Ω
        Headlight relay terminal 5 - Body ground Always 10 kΩ or higher
    3. for RH:
      1. Disconnect the A11 headlight connector.
      2. Measure the resistance according to the value(s) in the table below.

        Standard resistance 

        HEADLIGHT RELAY - HEADLIGHT LOW BULB RH

        Tester Connection Condition Specified Condition
        Headlight relay terminal 5 - A11-2 Always Below 1 Ω
        Headlight relay terminal 5 - Body ground Always 10 kΩ or higher

    NG: REPAIR OR REPLACE HARNESS OR CONNECTOR 

    OK: Go to next step 

  7. CHECK HEADLIGHT (LOW BEAM) 
    1. Disconnect the DB ECU connector.
    2. Fig 6: Identifying Main Body ECU Connector Terminals
      G05160787Courtesy of © TOYOTA, LICENSE AGREEMENT TMS1002
    3. Using a service wire, connect DB-18 (HRLY) on the wire harness side and body ground.
    4. Check that the headlight low beam illuminates.

      OK: Headlight low beam illuminates. 

    NG: REPAIR OR REPLACE HARNESS OR CONNECTOR (HEADLIGHT RELAY - MAIN BODY ECU) 

    OK: REPLACE MAIN BODY ECU