LEMON Manuals: Even more car manuals for everyone: 1960-2025
Home >> Infiniti >> 2009 >> M45 Base >> Repair and Diagnosis >> External Pages >> Different car >> Section 130 (Front Final Drive) >> Front Final Drive Assembly >> Disassembly and Assembly >> Assembly Inspection And Adjustment >> Tooth Contact
April 5, 2026: LEMON Manuals is launched! Read the announcement.

Tooth Contact

WARNING: This page is about a different car, the 2008 Infiniti M45 and 2008 Infiniti M35. However, it is still accessible from the selected car via links, so may be relevant.
  1. Remove carrier cover. Refer to "DIFFERENTIAL ASSEMBLY ".
  2. Apply red lead to drive gear.
    CAUTION: Apply red lead to both the faces of 3 to 4 gears at 4 locations evenly spaced on drive gear.
    Fig 1: Applying Red Lead To Drive Gear
    G04876314Courtesy of NISSAN MOTOR CO., U.S.A.
  3. Rotate drive gear back and forth several times, check drive pinion gear to drive gear tooth contact.
    CAUTION: Check tooth contact on drive side and reverse side.
    Fig 2: Checking Drive Pinion Gear To Drive Gear Tooth Contact
    G04876315Courtesy of NISSAN MOTOR CO., U.S.A.
    Fig 3: Drive Pinion Gear Tooth Contact Pattern
    G05225486Courtesy of NISSAN MOTOR CO., U.S.A.
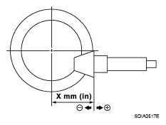
  4. If tooth contact is improperly adjusted, follow the procedure below to adjust the pinion height (dimension X).
    Fig 4: Adjusting Pinion Height
    G04876330Courtesy of NISSAN MOTOR CO., U.S.A.
    • If the tooth contact is near the face (face contact), or near the heel (heel contact), thicken pinion height adjusting washers to move drive pinion closer to drive gear.

      Refer to "PINION HEIGHT ADJUSTING WASHER ".

      Fig 5: Identifying Face Contact
      G04876331Courtesy of NISSAN MOTOR CO., U.S.A.
    • If the tooth contact is near the flank (flank contact), or near the toe (toe contact), thin pinion height adjusting washers to move drive pinion farther from drive gear.

      Refer to "PINION HEIGHT ADJUSTING WASHER ".

      Fig 6: Identifying Flank Contact
      G04876332Courtesy of NISSAN MOTOR CO., U.S.A.