LEMON Manuals: Even more car manuals for everyone: 1960-2025
Home >> Infiniti >> 2009 >> M45 Base >> Repair and Diagnosis >> External Pages >> Different car >> Section 130 (Front Final Drive) >> Front Final Drive Assembly >> Disassembly and Assembly >> Assembly Inspection And Adjustment >> Total Preload Torque
April 5, 2026: LEMON Manuals is launched! Read the announcement.

Total Preload Torque

WARNING: This page is about a different car, the 2008 Infiniti M45 and 2008 Infiniti M35. However, it is still accessible from the selected car via links, so may be relevant.
  1. Rotate drive pinion back and forth 2 to 3 times to check for unusual noise and rotation malfunction.
  2. Rotate drive pinion at least 20 times to check for smooth operation of the bearing.
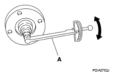
  3. Measure total preload with preload gauge.

    Tool number A: ST3127S000 (J-25765-A) 

    Total preload torque: 

    1.56 - 2.65 N.m (0.16 - 0.27 kg-m, 14 - 23 in-lb) 

    Fig 1: Measuring Total Preload With Preload Gauge
    G05225482Courtesy of NISSAN MOTOR CO., U.S.A.
    NOTE: Total preload torque = Pinion bearing preload torque + Side bearing preload torque
    • If measured value is out of the specification, disassemble it to check and adjust each part. Adjust the pinion bearing preload and side bearing preload. Adjust the pinion bearing preload first, then adjust the side bearing preload.

      When the preload torque is large 

      On pinion bearings: Decrease the drive pinion bearing adjusting washer and drive pinion adjusting washer thickness.  Refer to "DRIVE PINION BEARING ADJUSTING WASHER " and "DRIVE PINION ADJUSTING WASHER ".

      On side bearings: Increase the side bearing adjusting shim thickness.  Refer to "SIDE BEARING ADJUSTING SHIM ".

      When the preload torque is small 

      On pinion bearings: Increase the drive pinion bearing adjusting washer and drive pinion adjusting washer thickness.  Refer to "DRIVE PINION BEARING ADJUSTING WASHER " and "DRIVE PINION ADJUSTING WASHER ".

      On side bearings: Decrease the side bearing adjusting shim thickness.  Refer to "SIDE BEARING ADJUSTING SHIM ".