LEMON Manuals: Even more car manuals for everyone: 1960-2025
Home >> Infiniti >> 2009 >> M45 Base >> Repair and Diagnosis >> External Pages >> Different car >> Section 39 (Lighting System) >> Lighting System >> Front Fog Light Circuit >> Inspection Procedure
April 5, 2026: LEMON Manuals is launched! Read the announcement.

Inspection Procedure

WARNING: This page is about a different car, the 2008 Toyota Tundra. However, it is still accessible from the selected car via links, so may be relevant.
  1. PERFORM ACTIVE TEST BY TECHSTREAM (FRONT FOG LIGHT) 
    1. Operate the Techstream according to the steps on the display and select "Active Test".
      1. Techstream

        Main Body 

        MAIN BODY - TECHSTREAM ACTIVE TEST CHART

        Tester Display Test Part Control Range Diagnostic Note
        Front Fog Light Front fog light ON or OFF -

        OK: Front fog light turns on / turns off. 

    NG: Go to step 2 

    OK: PROCEED TO NEXT CIRCUIT INSPECTION SHOWN IN  PROBLEM SYMPTOMS TABLE  

  2. INSPECT FUSE (FOG) 
    1. Remove the FOG fuse from the engine room junction block.
    2. Measure the resistance according to the value(s) in the table below.

      Standard resistance 

      FUSE (FOG)

      Tester Connection Condition Specified Condition
      FOG fuse Always Below 1 Ω

    NG: REPLACE FUSE 

    OK: Go to next step 

  3. CHECK HARNESS AND CONNECTOR (FRONT FOG LIGHT BULB - BATTERY) 
    1. for LH:
      1. Disconnect the A30 front fog light connector.
        Fig 1: Identifying Front Fog Light Connector Terminals - LH
        G05160756Courtesy of © TOYOTA, LICENSE AGREEMENT TMS1002
      2. Measure the voltage according to the value(s) in the table below.

        Standard voltage 

        FRONT FOG LIGHT BULB - BATTERY LH

        Tester Connection Switch Condition Specified Condition
        A30-2 - Body ground Light control switch TAIL, front fog light switch ON 11 to 14 V
        Light control switch TAIL, front fog light switch OFF Below 1 V
    2. for RH:
      1. Disconnect the A31 front fog light connector.
        Fig 2: Identifying Front Fog Light Connector Terminals - RH
        G05160757Courtesy of © TOYOTA, LICENSE AGREEMENT TMS1002
      2. Measure the voltage according to the value(s) in the table below.

        Standard voltage 

        FRONT FOG LIGHT BULB - BATTERY RH

        Tester Connection Switch Condition Specified Condition
        A31-2 - Body ground Light control switch TAIL, front fog light switch ON 11 to 14 V
        Light control switch TAIL, front fog light switch OFF Below 1 V

    NG: Go to step 4 

    OK: REPAIR OR REPLACE HARNESS OR CONNECTOR (FRONT FOG LIGHT BULB - BODY GROUND) 

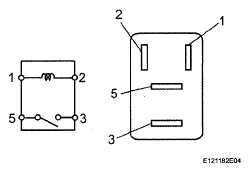
  4. INSPECT FOG LIGHT RELAY (FR FOG) 
    1. Remove the fog light relay from the engine room relay block.
      Fig 3: Identifying Fog Light Relay Terminals (FR FOG)
      G05160758Courtesy of © TOYOTA, LICENSE AGREEMENT TMS1002
    2. Measure the resistance according to the value(s) in the table below.

      Standard resistance 

      FOG LIGHT RELAY (FR FOG)

      Tester Connection Condition Specified Condition
      3 - 5 When battery voltage is not applied to terminals land 2 10 kΩ or higher
      When battery voltage Is applied to terminals 1 and 2 Below 1 Ω

    NG: REPLACE FOG LIGHT RELAY 

    OK: Go to next step 

  5. CHECK HARNESS AND CONNECTOR (FOG LIGHT RELAY - BATTERY) 
    1. Remove the fog light relay from the engine room relay block.
      Fig 4: Identifying Fog Light Relay Terminals (FR FOG)
      G05160759Courtesy of © TOYOTA, LICENSE AGREEMENT TMS1002
    2. Measure the voltage according to the value(s) in the table below.

      Standard voltage 

      FOG LIGHT RELAY - BATTERY

      Tester Connection Switch Condition Specified Condition
      Fog light relay terminal 1 - Body ground Light control switch TAIL 11 to 14 V
      Fog light relay terminal 3 - Body ground Always

    NG: REPAIR OR REPLACE HARNESS OR CONNECTOR 

    OK: Go to next step 

  6. CHECK HARNESS AND CONNECTOR (FR FOG RELAY - FRONT FOG LIGHT BULB) 
    Fig 5: Identifying FR Fog Relay And Front Fog Light Connector Terminals
    G05160760Courtesy of © TOYOTA, LICENSE AGREEMENT TMS1002
    1. Remove the fog light relay from the engine room relay block.
    2. for LH:
      1. Disconnect the A30 front fog light connector.
      2. Measure the resistance according to the value(s) in the table below.

        Standard resistance 

        FR FOG RELAY - FRONT FOG LIGHT BULB LH

        Tester Connection Condition Specified Condition
        Fog light relay terminal 5 - A30-2 Always Below 1 Ω
        Fog light relay terminal 5 - Body ground Always 10 kΩ or higher
    3. for RH:
      1. Disconnect the A31 front fog light connector.
      2. Measure the resistance according to the value(s) in the table below.

        Standard resistance 

        FR FOG RELAY - FRONT FOG LIGHT BULB RH

        Tester Connection Condition Specified Condition
        Fog light relay terminal 5 - A31-2 Always Below 1 Ω
        Fog light relay terminal 5 - Body ground Always 10 kΩ or higher

    NG: REPAIR OR REPLACE HARNESS OR CONNECTOR 

    OK: Go to next step 

  7. CHECK FRONT FOG LIGHT 
    1. Disconnect the J4 ECU connector.
    2. Fig 6: Identifying Main Body ECU Connector Terminals
      G05160761Courtesy of © TOYOTA, LICENSE AGREEMENT TMS1002
    3. Using a service wire, connect J4-4 (FFGO) on the wire harness side and body ground.
    4. Check that the front fog light illuminates.

      OK: Front fog light illuminates. 

    NG: REPAIR OR REPLACE HARNESS OR CONNECTOR (FOG LIGHT RELAY - MAIN BODY ECU) 

    OK: REPLACE MAIN BODY ECU