LEMON Manuals: Even more car manuals for everyone: 1960-2025
Home >> Infiniti >> 2009 >> M45 Base >> Repair and Diagnosis >> External Pages >> Different car >> Section 51 (Cruise Control System) >> Cruise Control System >> System Diagram
April 5, 2026: LEMON Manuals is launched! Read the announcement.

System Diagram

WARNING: This page is about a different car, the 2008 Toyota Tundra. However, it is still accessible from the selected car via links, so may be relevant.
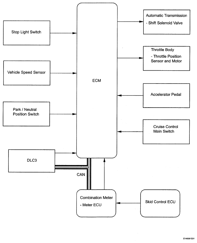
Fig 1: Cruise Control System Diagram
G05160694Courtesy of © TOYOTA, LICENSE AGREEMENT TMS1002

Communication Table: 

COMMUNICATION TABLE

Sender Receiver Signal Line
ECM Meter ECU CRUISE main indicator operation signal CAN