LEMON Manuals: Even more car manuals for everyone: 1960-2025
Home >> Infiniti >> 2009 >> M45 Base >> Repair and Diagnosis >> Restraints >> Restraints Control Systems >> Supplemental Restraint System (SRS) >> Service Information >> Driver Air Bag Module >> Removal and Installation >> Removal
April 5, 2026: LEMON Manuals is launched! Read the announcement.

Removal and Installation: Removal

  1. Remove the side lids (LH/RH).
  2. Remove the TORX bolt (LH/RH) from the steering wheel lower side using TORX bit.
  3. Pull out the driver air bag module.
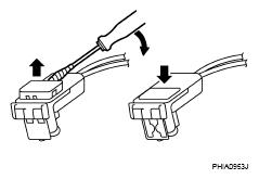
  4. Disconnect the driver air bag harness connector.
    NOTE:
    • For installing/removing driver air bag harness connector, insert thin screwdriver wrapped in tape into notch, lift lock and remove connector.
    • Install connector with lock raised, and push lock into connector.
    • After installing the connector, check that the lock is pushed securely into it.
      Fig 1: Removing/Installing Harness Connectors
      G04887382Courtesy of NISSAN MOTOR CO., U.S.A.
  5. Remove the screws then remove the steering switch.
    CAUTION:
    • Always place the driver air bag module with pad side facing upward.
    • Never impact the driver air bag module.
    • Replace the driver air bag module if it has been dropped or sustained an impact.
      Fig 2: Precaution For Air Bag Module
      G05224522Courtesy of NISSAN MOTOR CO., U.S.A.
    • Never insert any foreign objects (screwdriver, etc.) into driver air bag module.
    • Never disassemble the driver air bag module.
    • Never expose the driver air bag module to temperatures exceeding 90°C (194 °F).
    • Never allow oil, grease, detergent, or water to come in contact with the driver air bag module.