LEMON Manuals: Even more car manuals for everyone: 1960-2025
Home >> Infiniti >> 2009 >> M45 Base >> Repair and Diagnosis >> Transmission >> Automatic Transmission >> [7AT: Re7R01A] >> Function Diagnosis >> A/T Control System >> System Diagram
April 5, 2026: LEMON Manuals is launched! Read the announcement.

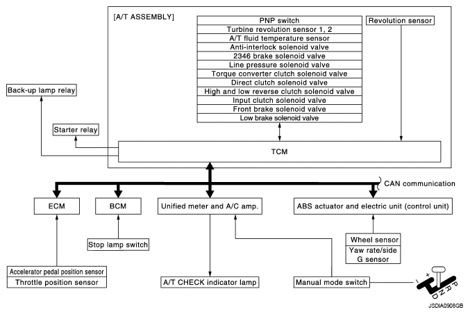
System Diagram

Fig 1: A/T Control System Diagram
G06307656Courtesy of NISSAN MOTOR CO., U.S.A.