LEMON Manuals: Even more car manuals for everyone: 1960-2025
Home >> Infiniti >> 2009 >> M45 x >> Repair and Diagnosis >> External Pages >> Different car >> Section 163 (Engine Cooling System) >> Service Information >> Cooling System >> System Chart
April 5, 2026: LEMON Manuals is launched! Read the announcement.

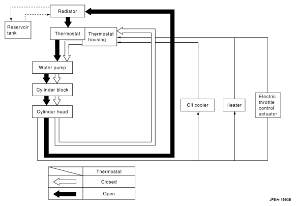
System Chart

WARNING: This page is about a different car, the 2009 Infiniti M35. However, it is still accessible from the selected car via links, so may be relevant.
Fig 1: Engine Cooling System Schematic Diagram
G05733113Courtesy of NISSAN MOTOR CO., U.S.A.