LEMON Manuals: Even more car manuals for everyone: 1960-2025
Home >> Infiniti >> 2010 >> EX35 Base, RWD >> Repair and Diagnosis (Single Page) >> Accessories & Equipment >> Entertainment Systems >> Audio, Visual, Navigation System >> Base Audio Without Navigation >> Component Diagnosis >> Steering Switch Signal B Circuit >> Component Inspection
April 5, 2026: LEMON Manuals is launched! Read the announcement.

Component Inspection

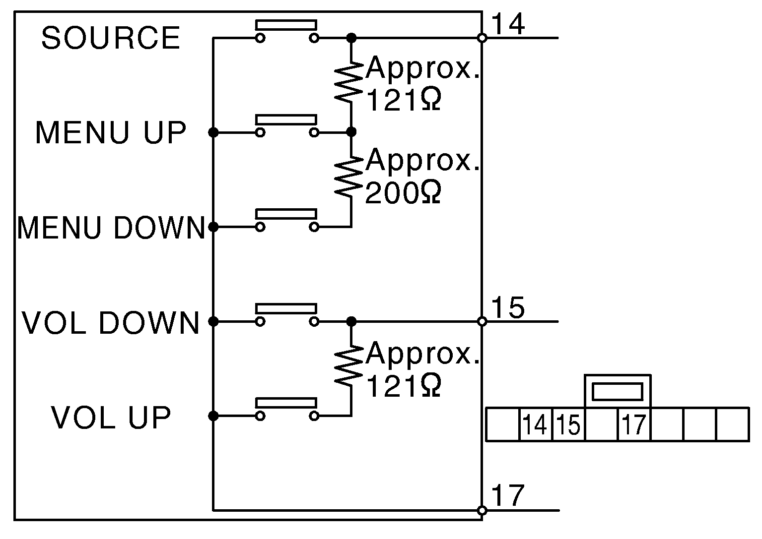
Measure the resistance between the steering switch connector.

Fig 1: Measuring Resistance Between Steering Switch Connector Terminals 14 To 17 And 15 To 17
G05219870Courtesy of NISSAN MOTOR CO., U.S.A.
RESISTANCE REFERENCE CHART

Steering switch Steering switch Condition Resistance value (Ω)
Connector Terminals Connector Terminal
M303 14 M303 17 SOURCE switch ON 0
MENU UP switch ON 120 - 122
MENU DOWN switch ON 318 - 324
15 VOL DOWN switch ON 0
VOL UP switch ON 120 - 122