LEMON Manuals: Even more car manuals for everyone: 1960-2025
Home >> Infiniti >> 2010 >> EX35 Journey, AWD >> Repair and Diagnosis >> Electrical >> Body Electrical >> Power Control System >> IPDM E/R >> Function Diagnosis >> Relay Control System >> System Diagram
April 5, 2026: LEMON Manuals is launched! Read the announcement.

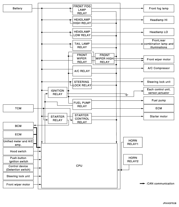
System Diagram

Fig 1: Relay Control System Diagram
G05730911Courtesy of NISSAN MOTOR CO., U.S.A.