LEMON Manuals: Even more car manuals for everyone: 1960-2025
Home >> Infiniti >> 2010 >> FX35 AWD >> Repair and Diagnosis (Single Page) >> Body & Frame >> Windows >> Power Window Control System (With Front & Rear Anti-Pinch) >> Function Diagnosis >> Power Window System >> System Diagram
April 5, 2026: LEMON Manuals is launched! Read the announcement.

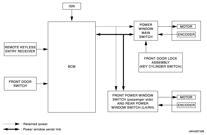
System Diagram

Fig 1: Power Window System Diagram
G05982165Courtesy of NISSAN MOTOR CO., U.S.A.