LEMON Manuals: Even more car manuals for everyone: 1960-2025
Home >> Infiniti >> 2010 >> G37 Base, 2D Convertible >> Repair and Diagnosis >> External Pages >> Different car >> Section 216 (Power Window Control System) >> Function Diagnosis >> Power Window System >> System Diagram >> Front Window Anti-Pinch System
April 5, 2026: LEMON Manuals is launched! Read the announcement.

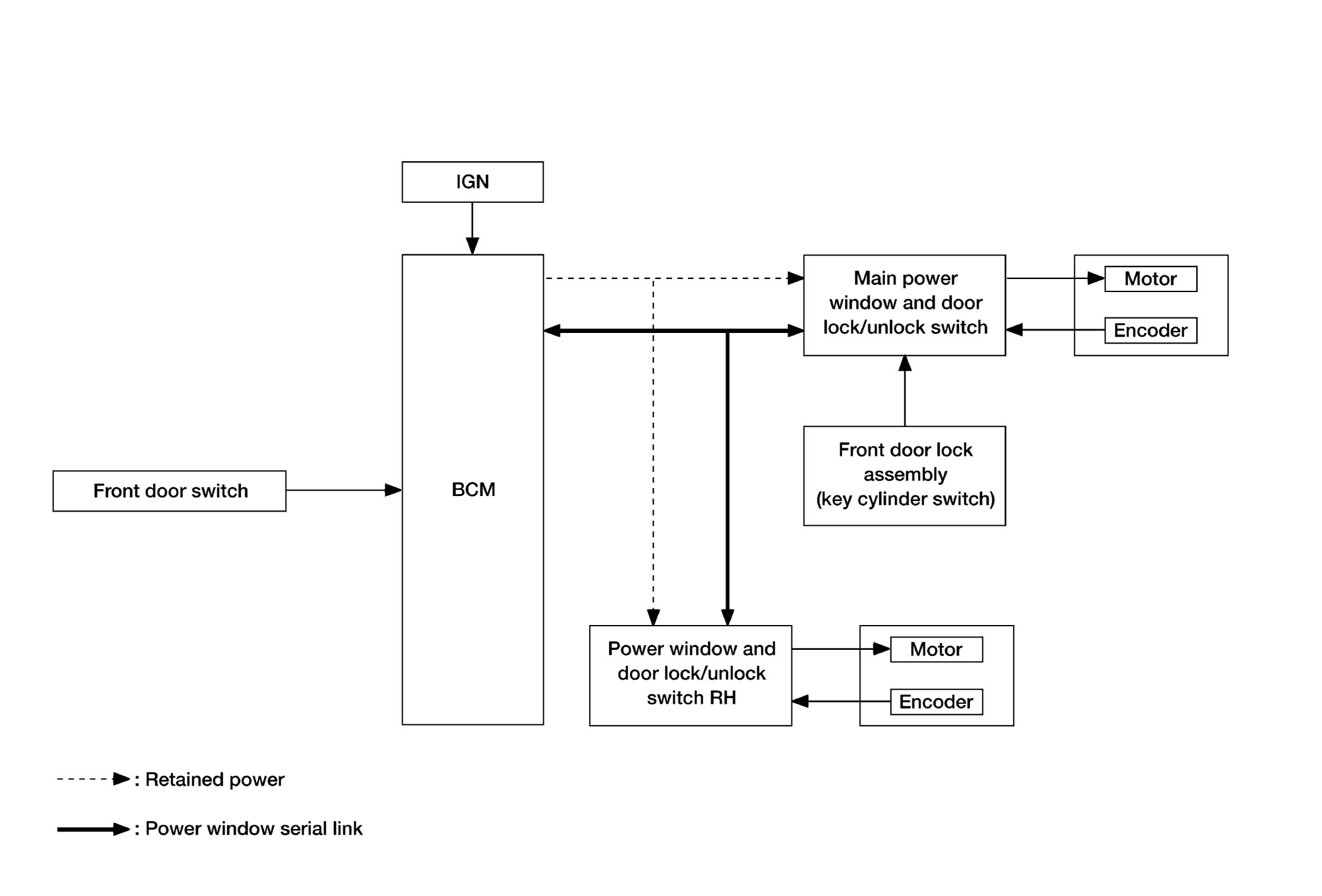
Front Window Anti-Pinch System

WARNING: This page is about a different car, the 2011 Nissan Armada. However, it is still accessible from the selected car via links, so may be relevant.
Fig 1: Front Window Anti-Pinch System Diagram
G04888505Courtesy of NISSAN MOTOR CO., U.S.A.