LEMON Manuals: Even more car manuals for everyone: 1960-2025
Home >> Infiniti >> 2010 >> G37 Base, 2D Convertible >> Repair and Diagnosis >> External Pages >> Different car >> Section 88 (Audio Visual System & Navigation System) >> BOSE Audio With Navigation >> Function Diagnosis >> Hands-Free Phone System >> System Diagram
April 5, 2026: LEMON Manuals is launched! Read the announcement.

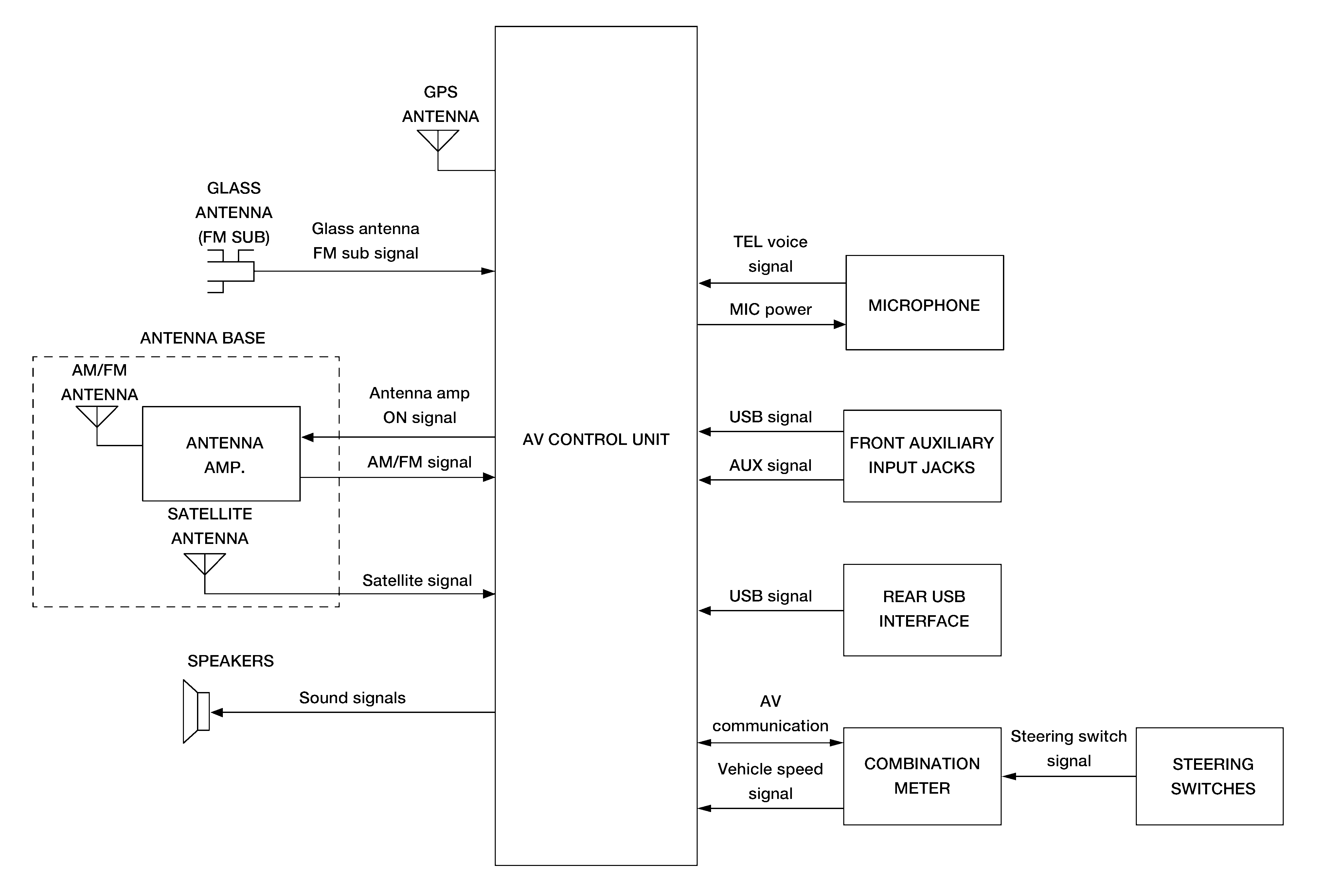
System Diagram

WARNING: This page is about a different car, the 2010 Nissan Armada. However, it is still accessible from the selected car via links, so may be relevant.
Fig 1: Hands-Free Phone System Communication Diagram
G05383727Courtesy of NISSAN MOTOR CO., U.S.A.