LEMON Manuals: Even more car manuals for everyone: 1960-2025
Home >> Infiniti >> 2010 >> G37 Base, 2D Coupe >> Repair and Diagnosis >> External Pages >> Different car >> Section 224 (Power Control System) >> IPDM E/R (Without I-Key) >> System >> Relay Control System >> RELAY CONTROL SYSTEM : System Diagram
April 5, 2026: LEMON Manuals is launched! Read the announcement.

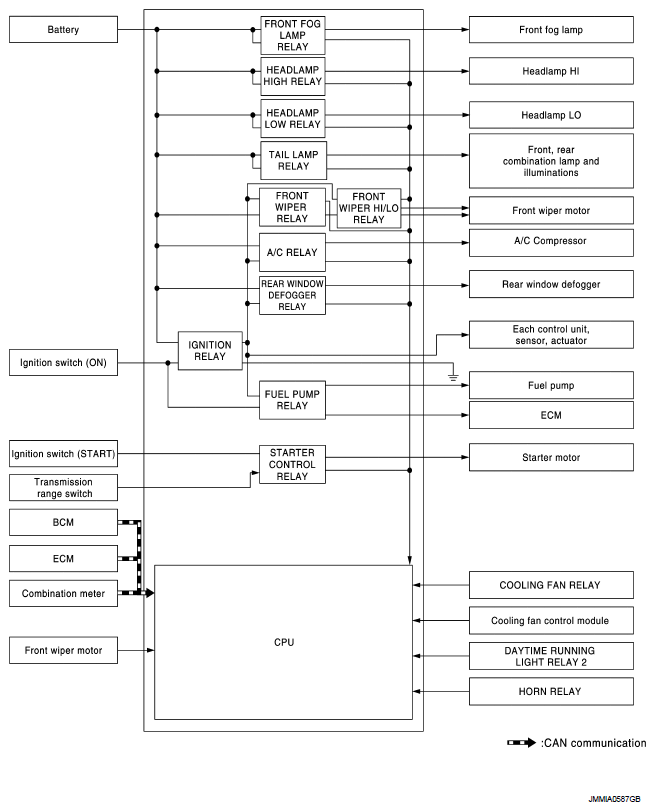
RELAY CONTROL SYSTEM : System Diagram

WARNING: This page is about a different car, the 2011 Nissan Juke. However, it is still accessible from the selected car via links, so may be relevant.
Fig 1: Relay Control System Diagram
G06934955Courtesy of NISSAN MOTOR CO., U.S.A.