LEMON Manuals: Even more car manuals for everyone: 1960-2025
Home >> Infiniti >> 2010 >> M35 Base >> Repair and Diagnosis >> External Pages >> Different car >> Section 121 (Lighting System) >> Active AFS >> Auto Aiming Operation Check (Function Test)
April 5, 2026: LEMON Manuals is launched! Read the announcement.

Auto Aiming Operation Check (Function Test)

WARNING: This page is about a different car, the 2008 Infiniti M45 and 2008 Infiniti M35. However, it is still accessible from the selected car via links, so may be relevant.
  1. CHECK AIMING MOTOR 

    CONSULT-III ACTIVE TEST

    1. Start engine and turn lighting switch to 2ND position.
    2. Select "LEVELIZER TEST" of ADAPTIVE LIGHT active test item.
    3. Touch "ORIGIN" and "PEAK" screen.
    4. Make sure of auto aiming operation.
      LIGHT AXIS RANGE REFERENCE VALUE

      TEST ITEM ORIGIN PEAK (Reference value) Light axis range at 10 m (394.7 in) off (Reference value)
      LEVELIZER TEST Light axis angle 0° Light axis angle approx. 2.5° Approx. 450 mm (17.7 in)

    OK or NG 

    OK: GO TO 2.

    NG:

  2. PERFORM STATE LEVELIZER ADJUSTMENT 1 

    CONSULT-III DATA MONITOR

    Check "LEV ACTR VLTG" in "Data Monitor" with unloaded vehicle position. (Remove all loads in driver, passenger and trunk rooms.)

    TEST ITEM CHART

    TEST ITEM Unloaded vehicle position
    LEV ACTR VLTG Approx. 70%

    OK or NG 

    OK: GO TO 3.

    NG: Perform LEVELIZER ADJUSTMENT. Refer to "WORK SUPPORT (LEVELIZER ADJUSTMENT) ".

  3. PERFORM STATE LEVELIZER ADJUSTMENT 2 

    Check if "LEV ACTR VLTG" changes approx. 3 seconds after lowering vehicle height as low as approx. --0.5V from the value of "HI SEN OTP RR" in "Data Monitor" at unloaded vehicle position. (Remove all loads in driver, passenger and trunk rooms.)

    OK or NG 

    OK: GO TO 4.

    NG: Perform LEVELIZER ADJUSTMENT. Refer to "WORK SUPPORT (LEVELIZER ADJUSTMENT) ".

  4. CHECK HEIGHT SENSOR SIGNAL AND AIMING MOTOR DRIVE SIGNAL 

    CONSULT-III DATA MONITOR

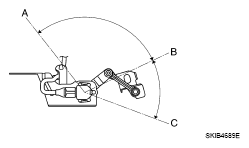
    Remove height sensor link bracket mounting nuts (rear stabilizer side). For details, refer to "REMOVAL AND INSTALLATION OF HEIGHT SENSOR ". Change sensor angle from the basic point of sensor angle 0° (standard position) and check "HI SEN OTP RR" and "LEV ACTR VLTG" of "Data Monitor".

    SENSOR ANGLE REFERENCE CHART

      Sensor angle Vehicle height
    A Approx. --103° (Link stopper angle) Low side
    B 0° (Standard position) Unloaded vehicle position
    C Approx. 46° (Link stopper angle) High side
    Fig 1: Identifying Sensor Angle
    G05214571Courtesy of NISSAN MOTOR CO., U.S.A.

    With 18-inch wheel 

    LIGHT AXIS RANGE REFERENCE VALUE

      Sensor angle "HI SEN OTP RR" "LEV ACTR VLTG" Light axis range at 10 m (394.7 in) off (Reference value)
    Limit value of vehicle height (high side) Approx. 45° Approx. 4.5 V Approx. 70.0% -
    Maximum angle of auto aiming operation(1) (Unloaded vehicle position) Approx. 0° Approx. 2.5 V Approx. 70.0% 0
    Minimum angle of auto aiming operation(1) (Maximum laden condition) Approx. --35° Approx. 1.0 V(2) Approx. 38.0% Approx. 200 mm (7.9 in)
    Limit value of vehicle height (low side) Approx. --45° Approx. 0.5 V Approx. 38.0% -
    NOTE:
    (1) Reference value. The value can be different from that of sensor angle and HI SEN OTP RR of maximum/minimum angle of auto aiming operation depending on LEVELIZER ADJUSTMENT state.
    (2) Reference value. Approx. --1.5 V from the LEVELIZER ADJUSTMENT value.

    With 19-inch wheel 

    LIGHT AXIS RANGE REFERENCE VALUE

      Sensor angle "HI SEN OTP RR" "LEV ACTR VLTG" Light axis range at 10m (394.7 in) off (Reference value)
    Limit value of vehicle height (high side) Approx. 45° Approx. 4.5 V Approx. 70.0% -
    Maximum angle of auto aiming operation(1) (Unloaded vehicle position) Approx. 0° Approx. 2.5 V Approx. 70.0% 0
    Minimum angle of auto aiming operation(1) (Maximum laden condition) Approx. --27° Approx. 1.3 (2) Approx. 41.8% Approx. 180 mm (7.1 in)
    Limit value of vehicle height (low side) Approx. --45° Approx. 0.5 V Approx. 41.8% -
    NOTE:
    (1) Reference value. The value can be different from that of sensor angle and HI SEN OTP RR of maximum/minimum angle of auto aiming operation depending on LEVELIZER ADJUSTMENT state.
    (2) Reference value. Approx. --1.2 V from LEVELIZER ADJUSTMENT value.

    OK or NG 

    OK: Auto aiming operation function is normal.

    NG: