LEMON Manuals: Even more car manuals for everyone: 1960-2025
Home >> Infiniti >> 2010 >> M35 Base >> Repair and Diagnosis >> External Pages >> Different car >> Section 158 (Can Communication System) >> Can Communication System >> System Diagram
April 5, 2026: LEMON Manuals is launched! Read the announcement.

System Diagram

WARNING: This page is about a different car, the 2008 Toyota Tundra. However, it is still accessible from the selected car via links, so may be relevant.
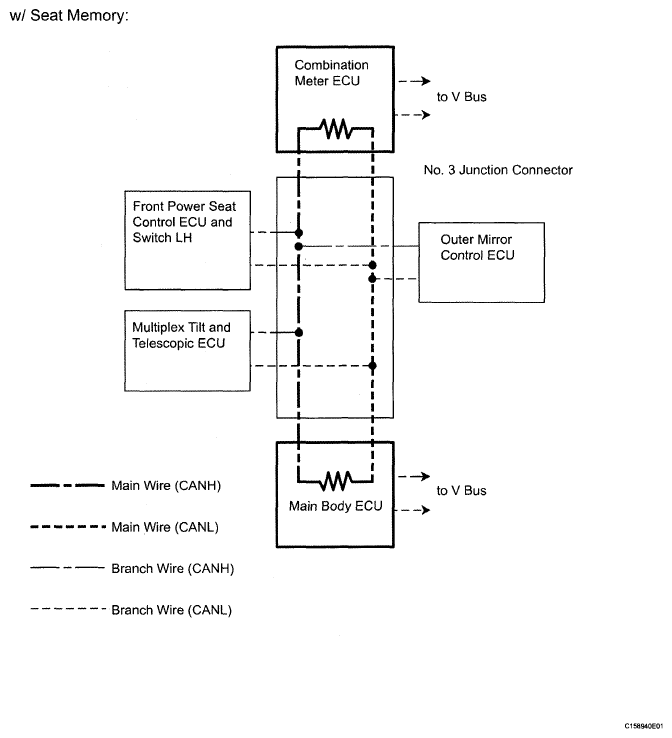
Fig 1: Identifying CAN Communication System Diagram (1 Of 2)
G05163384Courtesy of © TOYOTA, LICENSE AGREEMENT TMS1002
Fig 2: Identifying CAN Communication System Diagram (2 Of 2)
G05163385Courtesy of © TOYOTA, LICENSE AGREEMENT TMS1002

HINT:

The ECM uses the CAN communication system to perform DTC communication instead of the conventional communication line (SIL).