LEMON Manuals: Even more car manuals for everyone: 1960-2025
Home >> Infiniti >> 2010 >> M35 Base >> Repair and Diagnosis >> External Pages >> Different car >> Section 39 (Lighting System) >> Lighting System >> System Diagram
April 5, 2026: LEMON Manuals is launched! Read the announcement.

System Diagram

WARNING: This page is about a different car, the 2008 Toyota Tundra. However, it is still accessible from the selected car via links, so may be relevant.
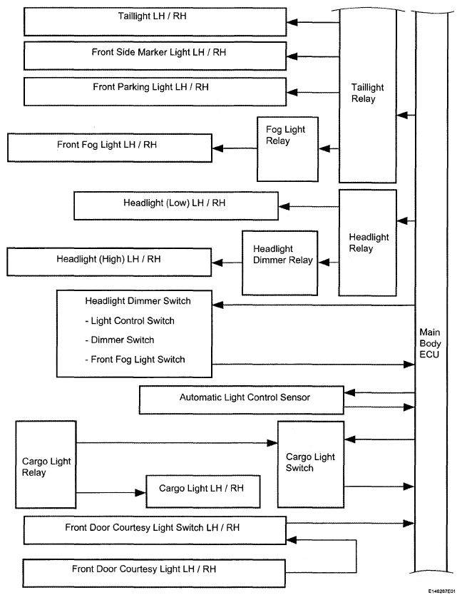
Fig 1: Lighting System Diagram (1 Of 3)
G05160729Courtesy of © TOYOTA, LICENSE AGREEMENT TMS1002
Fig 2: Lighting System Diagram (2 Of 3)
G05160730Courtesy of © TOYOTA, LICENSE AGREEMENT TMS1002
Fig 3: Lighting System Diagram (3 Of 3)
G05160731Courtesy of © TOYOTA, LICENSE AGREEMENT TMS1002

Communication table 

COMMUNICATION CHART

Sender Receiver Signal Line
ECM Main Body ECU Vehicle speed signal CAN
Main Body ECU Combination Meter
  • Headlight Lo beam signal
  • Headlight Hi beam signal
  • Taillight signal
  • Front door courtesy light switch LH signal
  • Front door courtesy light switch RH signal
  • Rear door courtesy light switch LH signal
  • Rear door courtesy light switch RH signal
CAN