LEMON Manuals: Even more car manuals for everyone: 1960-2025
Home >> Infiniti >> 2010 >> M35 Base >> Repair and Diagnosis >> External Pages >> Different car >> Section 52 (Audio System & Visual System) >> AUDIO AND VISUAL SYSTEM (for CrewMax) >> DTC 01-DD Master Reset; DTC 01-E1 Voice Processing Device ON Error >> Inspection Procedure
April 5, 2026: LEMON Manuals is launched! Read the announcement.

Inspection Procedure

WARNING: This page is about a different car, the 2008 Toyota Tundra. However, it is still accessible from the selected car via links, so may be relevant.
NOTE: Be sure to read the DESCRIPTION before performing the following procedures.
  1. CHECK RADIO RECEIVER POWER SOURCE CIRCUIT 
    1. Refer to the RADIO RECEIVER POWER SOURCE CIRCUIT  .

      If the power source circuit is operating normally, proceed to the next step.

  2. INSPECT RADIO RECEIVER 
    1. Disconnect the K4 and K22* receiver connectors.
    2. Measure the resistance according to the value(s) in the table below.

      Standard resistance 

      TESTER CONNECTION SPECIFIED CONDITION

      Tester Connection Condition Specified Condition
      K4-5(ATX+) - K4-15 (ATX-) Always 60 to 80 Ω
      K22-9(TXM+) - K22-10 (TXM-)* Always 60 to 80 Ω
      HINT:
      *: w/ Rear Seat Entertainment System

      Result: 

      RESULT REFERENCE

      Result Proceed to
      OK A
      NG (for Column Shift Type) B
      NG (for Floor Shift Type) C

    B: REPLACE RADIO RECEIVER  (see REMOVAL  )

    C: REPLACE RADIO RECEIVER  (see REMOVAL  )

    Fig 1: Identifying K4 And K22 Connectors Terminals
    G05156232Courtesy of © TOYOTA, LICENSE AGREEMENT TMS1002

    A: Go to Next Step 

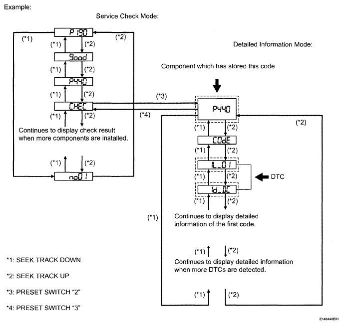
  3. IDENTIFY COMPONENT WHICH HAS STORED THIS CODE 
    1. Enter the diagnostic mode.
      Fig 2: Service Check Mode And Detailed Information Diagnostic Mode Flow Chart
      G05156108Courtesy of © TOYOTA, LICENSE AGREEMENT TMS1002
    2. Press the preset switch "3" to change to "Detailed Information Mode".
    3. Identify the component which has stored this code.

      Component table: 

      COMPONENT TABLE

      Component Physical address
      Stereo component amplifier 440
      "Bluetooth" handsfree module 19D
      Television display* 1B0
      HINT:
      • *: w/ Rear Seat Entertainment System
      • "440 (stereo component amplifier)" is the component which has stored this code in the example shown in the illustration.
      • For details of the DTC display, refer to "DTC CHECK / CLEAR " .
  4. CHECK COMPONENT WHICH HAS STORED THIS CODE 
    1. Select the component which has stored this code.

      HINT:

      The "Bluetooth" handsfree module is built into the radio receiver. If there is a problem between the "Bluetooth" handsfree module and radio receiver, replace the radio receiver.

      Component table: 

      COMPONENT TABLE

      Component Proceed to
      "Bluetooth" handsfree module (for Column Shift Type) A
      "Bluetooth" handsfree module (for Floor Shift Type) B
      Except "Bluetooth" handsfree module C

    A: REPLACE RADIO RECEIVER  (see REMOVAL  )

    B: REPLACE RADIO RECEIVER  (see REMOVAL  )

    C: Go to Next Step 

  5. CHECK HARNESS AND CONNECTOR (RADIO RECEIVER - COMPONENT WHICH HAS STORED THIS CODE) 
    Fig 3: AVC-LAN Wiring Diagram
    G05156233Courtesy of © TOYOTA, LICENSE AGREEMENT TMS1002

    HINT:

    For details of the connectors, refer to the "TERMINALS OF ECU " .

    1. Referring to the AVC-LAN wiring diagram below, check the AVC-LAN circuit between the radio receiver and the component which has stored this code.
      1. Disconnect all connectors between the radio receiver and the component which has stored this code.
      2. Check for an open or short in the AVC-LAN circuit between the radio receiver and the component which has stored this code.

        OK: There is no open or short circuit. 

    NG: REPAIR OR REPLACE HARNESS OR CONNECTOR 

    OK: Go to Next Step 

  6. REPLACE RADIO RECEIVER 
    1. Replace the radio receiver for column shift type (see REMOVAL  ) or floor shift type (see REMOVAL  ).

      OK: Same problem does not occur. 

    NG: REPLACE COMPONENT WHICH HAS STORED THIS CODE 

    OK: END