LEMON Manuals: Even more car manuals for everyone: 1960-2025
Home >> Infiniti >> 2010 >> M45 Base >> Repair and Diagnosis (Single Page) >> Engine Performance >> System >> Engine Control System - DTCS P1550 To P2A03 >> DTC P1554 Battery Current Sensor >> Overall Function Check
April 5, 2026: LEMON Manuals is launched! Read the announcement.

Overall Function Check

Use this procedure to check the overall function of the battery current sensor circuit. During this check, a 1st trip DTC might not be confirmed.

TESTING CONDITION: 

WITH CONSULT-III

  1. Start engine and let it idle.
  2. Select "BAT CUR SEN" in "DATA MONITOR" mode with CONSULT-III.
  3. Check "BAT CUR SEN" indication for 10 seconds.

    "BAT CUR SEN" indication should be above 2, 300 mV at least once  .

  4. If NG, go to "DIAGNOSIS PROCEDURE ".

WITH GST

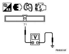
  1. Start engine and let it idle.
  2. Check voltage between ECM terminal 71 (battery current sensor signal) and ground for 10 seconds.

    The voltage should be above 2.3 V at least once  .

  3. If NG, go to "DIAGNOSIS PROCEDURE ".
Fig 1: Checking Voltage Between ECM Terminal 71 (Battery Current Sensor Signal) And Ground
G04900652Courtesy of NISSAN MOTOR CO., U.S.A.