LEMON Manuals: Even more car manuals for everyone: 1960-2025
Home >> Infiniti >> 2011 >> EX35 Base, RWD >> Repair and Diagnosis >> Transmission >> Automatic Transaxle >> System Description >> Shift Pattern Control >> ASC (Adaptive Shift Control) >> ASC (ADAPTIVE SHIFT CONTROL) : System Diagram
April 5, 2026: LEMON Manuals is launched! Read the announcement.

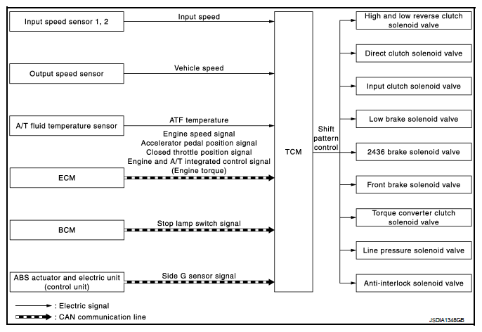
ASC (ADAPTIVE SHIFT CONTROL) : System Diagram

Fig 1: ASC - System Diagram
G07165239Courtesy of NISSAN MOTOR CO., U.S.A.