LEMON Manuals: Even more car manuals for everyone: 1960-2025
Home >> Infiniti >> 2011 >> FX50 >> Repair and Diagnosis >> External Pages >> Different car >> Section 48 (Audio, Visual, Navigation System (CROSSCABRIOLET)) >> BOSE Audio With Navigation >> System Description >> System >> Multi Av System >> MULTI AV SYSTEM : System Diagram
April 5, 2026: LEMON Manuals is launched! Read the announcement.

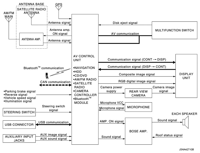
MULTI AV SYSTEM : System Diagram

WARNING: This page is about a different car, the 2011 Nissan Murano. However, it is still accessible from the selected car via links, so may be relevant.
Fig 1: Multi AV - System Diagram
G07133225Courtesy of NISSAN MOTOR CO., U.S.A.
NOTE:
  • The name MULTIFUNCTION SWITCH indicates the integration of PRESET SWITCH and MULTIFUNCTION SWITCH virtually.
  • An antenna base integrated with radio antenna amp. and satellite radio antenna is adopted.
    Fig 2: Radio And Satellite Radio Antenna Signal Communication Diagram
    G05731530Courtesy of NISSAN MOTOR CO., U.S.A.