LEMON Manuals: Even more car manuals for everyone: 1960-2025
Home >> Infiniti >> 2011 >> G25 Base >> Repair and Diagnosis (Single Page) >> Body & Frame >> Door Locks >> Security Control System -- G25/G37 Sedan >> System Description >> Intelligent Key System/Engine Start Function >> System Diagram
April 5, 2026: LEMON Manuals is launched! Read the announcement.

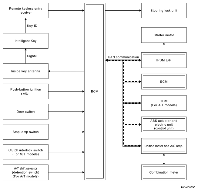
System Diagram

Fig 1: Intelligent Key System/Engine Start Function System Diagram
G06618898Courtesy of NISSAN MOTOR CO., U.S.A.