LEMON Manuals: Even more car manuals for everyone: 1960-2025
Home >> Infiniti >> 2011 >> G37 Base, 2D Convertible >> Repair and Diagnosis >> Electrical >> Body Electrical >> Power Control System -- G37 Convertible >> IPDM E/R >> System Description >> Relay Control System >> System Diagram
April 5, 2026: LEMON Manuals is launched! Read the announcement.

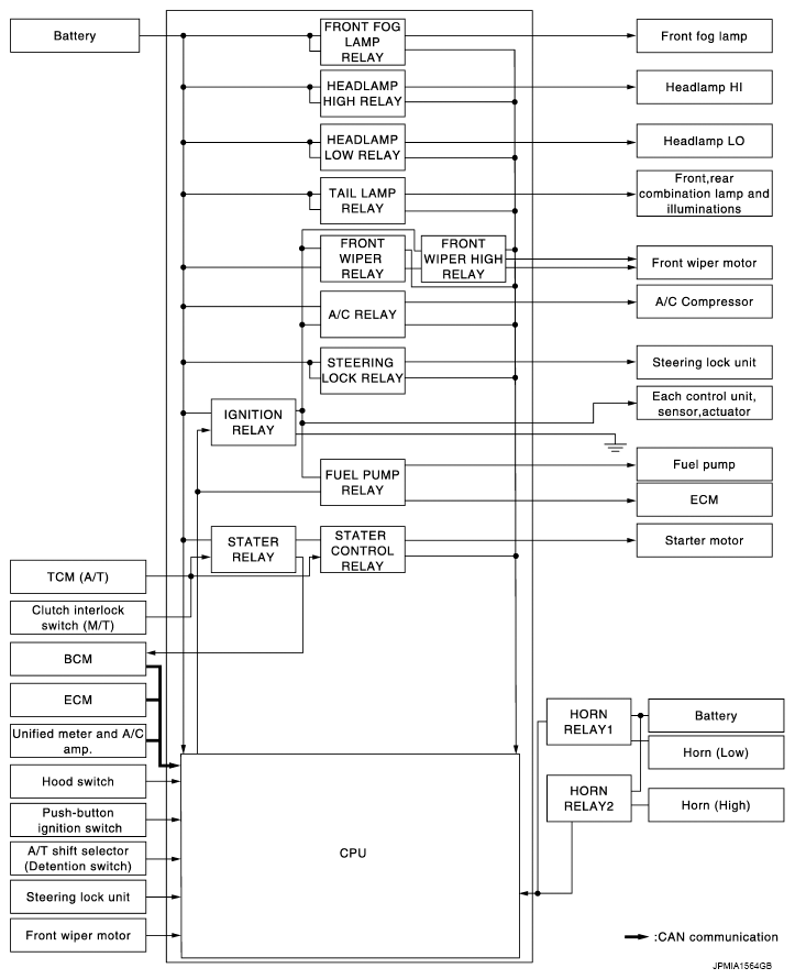
System Diagram

Fig 1: Relay Control System Diagram
G07158908Courtesy of NISSAN NORTH AMERICA, INC.
NOTE: Steering lock relay and steering lock unit, as shown in the system diagram, are for models with steering lock unit only.