LEMON Manuals: Even more car manuals for everyone: 1960-2025
Home >> Infiniti >> 2011 >> G37 Base, 2D Convertible >> Repair and Diagnosis >> Electrical >> Starter >> Starting System -- G37 Convertible >> System Description >> Starting System >> M/T >> M/T : System Diagram
April 5, 2026: LEMON Manuals is launched! Read the announcement.

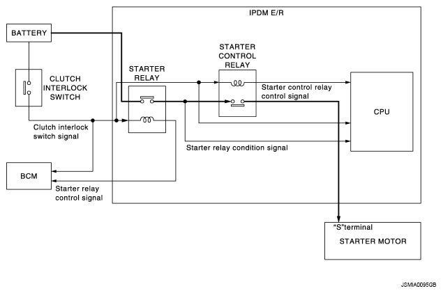
M/T : System Diagram

Fig 1: Starting System Diagram - M/T
G07156532Courtesy of NISSAN MOTOR CO., U.S.A.