LEMON Manuals: Even more car manuals for everyone: 1960-2025
Home >> Infiniti >> 2011 >> G37 Base, 2D Coupe >> Repair and Diagnosis >> External Pages >> Different variant/trim >> Section 53 (Audio System, Visual System & Navigation System (Base Audio Without Navigation) - G37 Convertible) >> Removal And Installation >> Rear View Camera >> Adjustment
April 5, 2026: LEMON Manuals is launched! Read the announcement.

Rear View Camera: Adjustment

WARNING: This page is about a different variant/trim than selected.

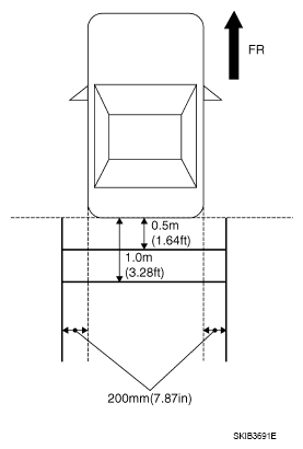
Adjust the guide line position if the guide line position is shifted after installing the rear view camera.

  1. Draw lines on rearward area of the vehicle passing through the following points: 200 mm (7.87 in) from both sides of the vehicle, and 0.5 m (1.64 ft), 1.0 m (3.28 ft) from the rear end of the bumper.
  2. Set into "Adjust Guide Lines" mode of "Confirmation/Adjustment" mode.
    Fig 1: Locating Settings Of Adjust Guide Lines
    G07161329Courtesy of NISSAN MOTOR CO., U.S.A.
  3. Rotate the center dial, and then select the guiding line pattern so that its angle is aligned with the correction line of the rear of the vehicle.

    Selected pattern : 7

  4. Make fine adjustment to the correction line of the rear of the vehicle with up/down/left/right switches so that its position is aligned with the guiding line. Press "OK" switch and record the adjusted guiding line position to the AV control unit.

    Up/Down adjustment range : 20° - 20°

    Left/Right adjustment range : 20° - 20°

    Fig 2: Display Rear View Camera Adjusting Screen
    G07161330Courtesy of NISSAN MOTOR CO., U.S.A.
    CAUTION: After the adjustment, never perform other operations for one minute.