LEMON Manuals: Even more car manuals for everyone: 1960-2025
Home >> Infiniti >> 2011 >> G37 IPL, Automatic >> Repair and Diagnosis (Single Page) >> Body & Frame >> Seats >> Automatic Drive Positioner System -- G37 Coupe >> System Description >> Automatic Drive Positioner System >> Memory Function >> MEMORY FUNCTION : System Diagram
April 5, 2026: LEMON Manuals is launched! Read the announcement.

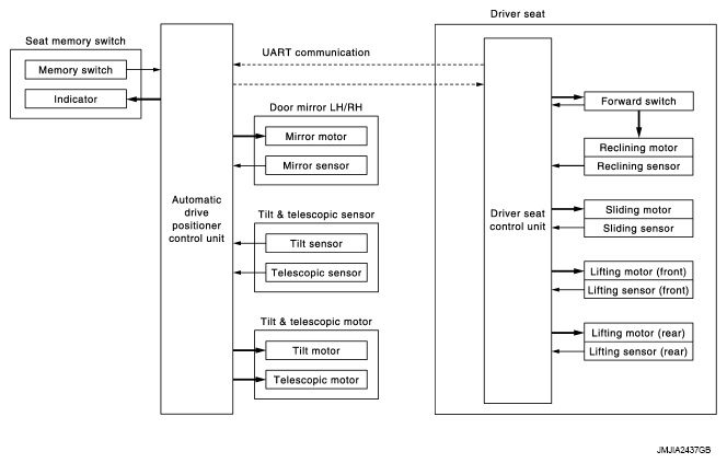
MEMORY FUNCTION : System Diagram

Fig 1: Memory Function System Diagram
G07169221Courtesy of NISSAN MOTOR CO., U.S.A.