Inspection After Disassembly
Oil Pump Clearance
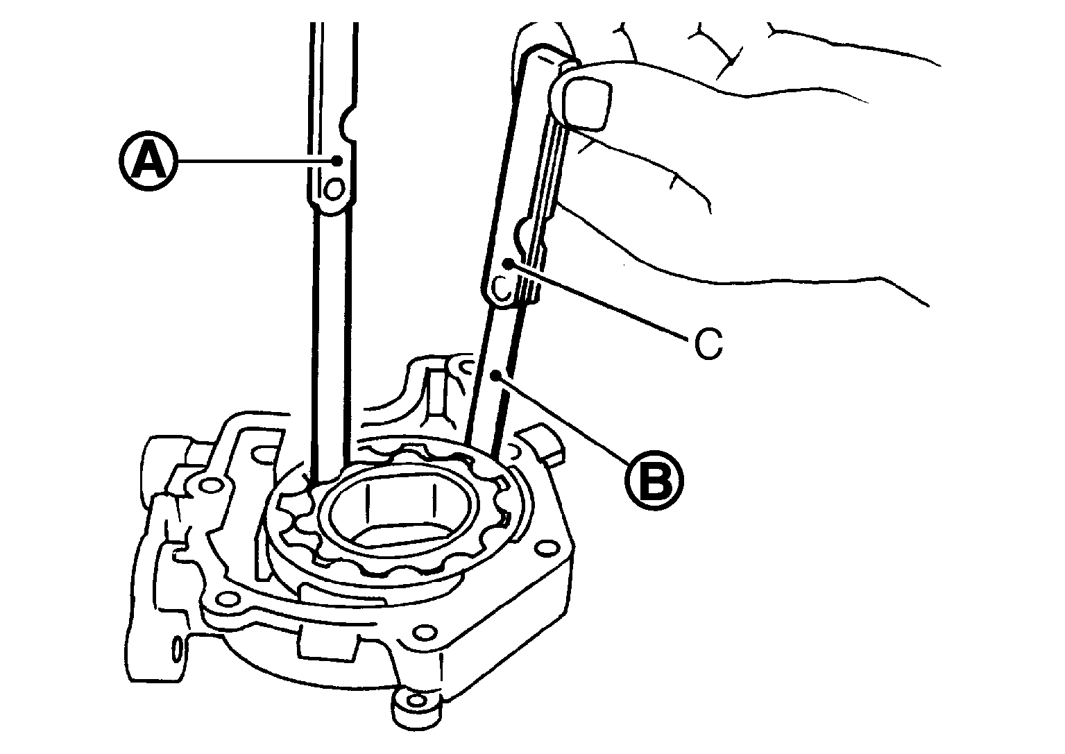
- Measure the clearance with feeler gauge (C).
- Measure the clearance with feeler gauge and straightedge (A).
- Calculate the clearance between oil pump inner rotor and oil pump body as follows:
OIL PUMP BODY INNER DIAMETER
- Measure the inner diameter of oil pump body with inside micrometer. [position (A)]
OIL PUMP INNER ROTOR OUTER DIAMETER
- Measure the outer diameter of protruded portion of oil pump inner rotor (1) with micrometer. [position (B)]
OIL PUMP INNER ROTOR TO OIL PUMP BODY CLEARANCE
- (Clearance) = (Oil pump body inner diameter) - (Oil pump inner rotor outer diameter)
Standard : Refer to "OIL PUMP ".
- If measured/calculated values are out of the standard, replace oil pump assembly.
Regulator Valve Clearance
(Clearance) = (Regulator valve hole diameter) - (Regulator valve outer diameter)
Standard : Refer to "REGULATOR VALVE ".
- If the calculated value is out of the standard, replace oil pump assembly.CAUTION:
- Coat regulator valve with engine oil.
- Check that it falls smoothly into valve hole by its own weight.