LEMON Manuals: Even more car manuals for everyone: 1960-2025
Home >> Infiniti >> 2011 >> M37 Base >> Repair and Diagnosis >> External Pages >> Different car >> Section 13 (Engine Cooling System) >> System Description >> Description >> Engine Cooling System Schematic
April 5, 2026: LEMON Manuals is launched! Read the announcement.

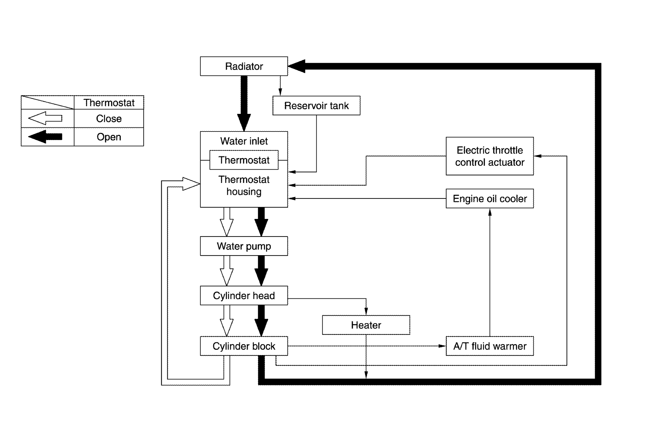
Engine Cooling System Schematic

WARNING: This page is about a different car, the 2011 Infiniti QX56. However, it is still accessible from the selected car via links, so may be relevant.
Fig 1: Engine Cooling System Schematic
G07024933Courtesy of NISSAN MOTOR CO., U.S.A.