LEMON Manuals: Even more car manuals for everyone: 1960-2025
Home >> Infiniti >> 2011 >> M37 x >> Repair and Diagnosis >> External Pages >> Different car >> Section 128 (Power Control System (Power Distribution System)) >> DTC/Circuit Diagnosis >> DTC B2614: Acc Relay Circuit >> Component Inspection
April 5, 2026: LEMON Manuals is launched! Read the announcement.

Component Inspection

WARNING: This page is about a different car, the 2012 Infiniti QX56. However, it is still accessible from the selected car via links, so may be relevant.
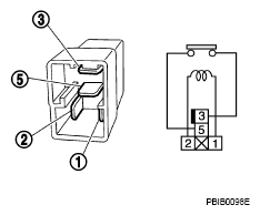
  1. CHECK ACCESSORY RELAY
    1. Turn ignition switch OFF.
    2. Remove accessory relay.
    3. Check the continuity between accessory relay terminals.
      Terminals Condition Continuity
      3 and 5 12 V direct current supply between terminals 1 and 2 Existed
      No current supply Not existed
      Fig 1: Checking Continuity Between Accessory Relay Terminals 3 And 5
      G07129475Courtesy of NISSAN NORTH AMERICA, INC.

      Is the inspection result normal? 

      YES: INSPECTION END

      NO: Replace accessory relay