LEMON Manuals: Even more car manuals for everyone: 1960-2025
Home >> Infiniti >> 2011 >> M56 Base >> Repair and Diagnosis >> External Pages >> Different car >> Section 86 (Automatic Transaxle) >> System Description >> System >> A/T Shift Lock System >> A/T SHIFT LOCK SYSTEM: System Description >> Shift Lock Operation At "P" Position
April 5, 2026: LEMON Manuals is launched! Read the announcement.

Shift Lock Operation At "P" Position

WARNING: This page is about a different car, the 2012 Infiniti QX56. However, it is still accessible from the selected car via links, so may be relevant.

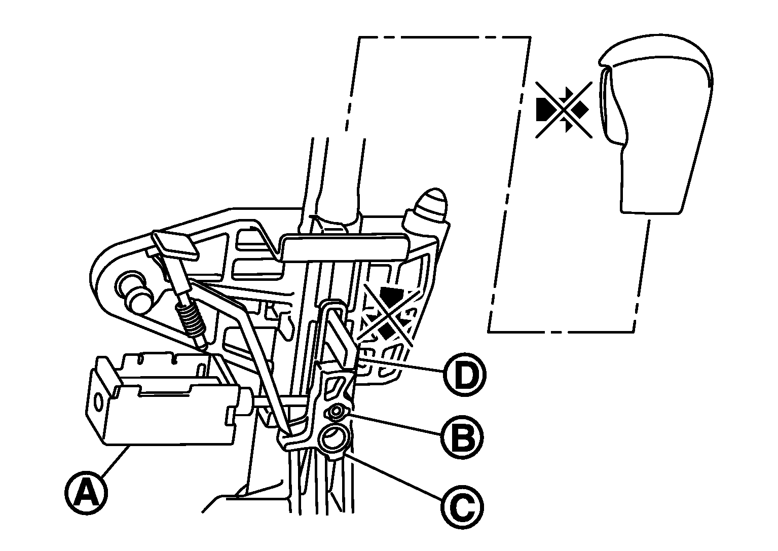
When Brake Pedal Is Not Depressed (No Selector Operation Allowed) The shift lock solenoid (A) is turned OFF (not energized) and the solenoid rod (B) is extended with the spring when the brake pedal is not depressed (no selector operation allowed) with the ignition switch ON.

The connecting lock lever (C) is located at the position shown in the figure when the solenoid rod is extended. It prevents the movement of the detent rod (D). For these reasons, the selector lever cannot be shifted from the "P" position.

Fig 1: Shift Lock Operation Line Diagram (Unable To Shift Selector Lever At P Position)
G05889904Courtesy of NISSAN NORTH AMERICA, INC.

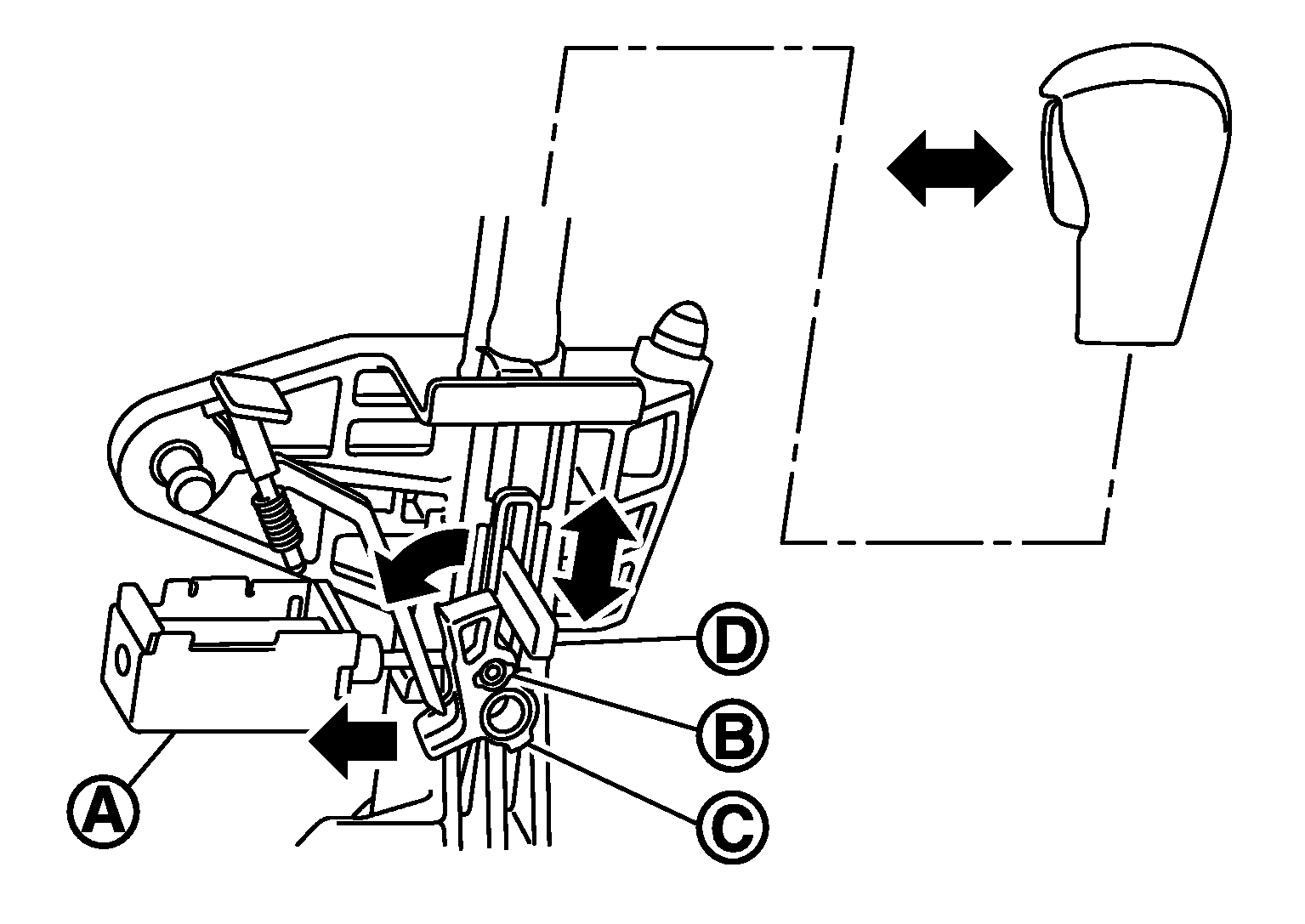
When Brake Pedal Is Depressed (Shift Operation Allowed)

The shift lock solenoid (A) is turned ON (energized) when the brake pedal is depressed with the ignition switch ON. The solenoid rod (B) is compressed by the electromagnetic force. The connecting lock lever (C) rotates when the solenoid is activated. Therefore, the detent rod (D) can be moved. For these reasons, the selector lever can be shifted to other positions.

Fig 2: Shift Lock Operation Line Diagram (Able To Shift Selector Lever At P Position)
G05889905Courtesy of NISSAN NORTH AMERICA, INC.