LEMON Manuals: Even more car manuals for everyone: 1960-2025
Home >> Infiniti >> 2011 >> M56 Sport >> Repair and Diagnosis (Single Page) >> Electrical >> Body Electrical >> Power Control System -- M37/M56 >> [IPDM E/R] >> System Description >> System >> Relay Control System >> RELAY CONTROL SYSTEM : System Diagram
April 5, 2026: LEMON Manuals is launched! Read the announcement.

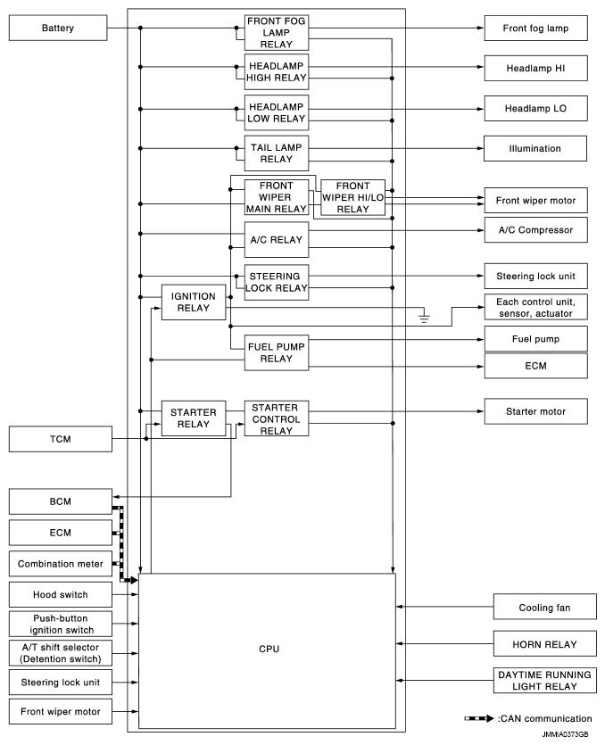
RELAY CONTROL SYSTEM : System Diagram

Fig 1: Relay Control System Diagram
G07022153Courtesy of NISSAN MOTOR CO., U.S.A.