LEMON Manuals: Even more car manuals for everyone: 1960-2025
Home >> Infiniti >> 2011 >> QX56 AWD >> Repair and Diagnosis >> Suspension >> Suspension Control Systems >> HBMC >> Basic Inspection >> Check System Pressure >> Work Procedure
April 5, 2026: LEMON Manuals is launched! Read the announcement.

Work Procedure

CAUTION:
  • Clean surrounding areas of oil injection jack using steam before starting operation, since there may be mud on it.
  • Clean oil pressure gauge (special service tool: KV40108000) jack with steam before use.
  1. Lift up the vehicle.
  2. Remove protector of PPMU.
  3. Remove cap of oil injection jack.
  4. Install an oil pressure gauge (SST: KV40108000) (A) to oil injection jack.
    CAUTION:
    • Jack must be securely inserted until a click sound can be heard.
    • Pressure reducing valve (B) of the oil pressure gauge must be closed.
    Fig 1: Identifying Suspension Oil Pump Hose And Pressure Reducing Valve
    G07045668Courtesy of NISSAN MOTOR CO., U.S.A.
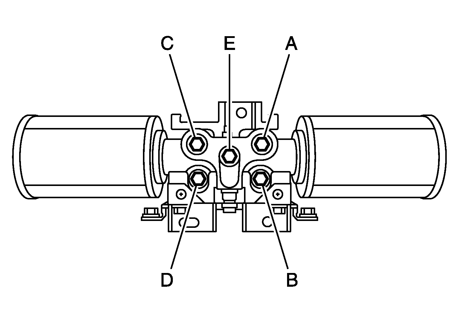
  5. Loosen needle valves A, C, and E of PPMU by approximately 2 rotations.
    CAUTION: Never loosen the needle valve more than required.
    Fig 2: Identifying Needle Valves Of PPMU
    G07045669Courtesy of NISSAN MOTOR CO., U.S.A.
  6. Refer to the figure and check the specified pressure.
  7. Tighten needle valves A, C, and E of PPMU to the specified torque.

    Tightening torque : 8.3 N.m (0.85 kg-m, 73 in-lb) 

    Fig 3: Pressure Versus Temperature Graph
    G07045670Courtesy of NISSAN MOTOR CO., U.S.A.
  8. Loosen pressure reducing valve (A) of oil pressure gauge and then lower pressure.
    CAUTION: Be careful since oil drains swiftly from oil drain hole (B).
  9. Check that reading of oil pressure gauge is 0 MPa.
  10. Remove oil pressure gauge.
  11. Install cap of oil injection jack.
  12. Install protector of PPMU. Refer to "PPMU, MIDDLE TUBE ASSEMBLY, PPMU PIPE : EXPLODED VIEW ".
    Fig 4: Checking Reading Of Oil Pressure Gauge
    G07045671Courtesy of NISSAN MOTOR CO., U.S.A.