LEMON Manuals: Even more car manuals for everyone: 1960-2025
Home >> Infiniti >> 2012 >> EX35 Base, RWD >> Repair and Diagnosis (Single Page) >> Body & Frame >> Windows >> Power Window Control System >> System Description >> Power Window System >> System Diagram
April 5, 2026: LEMON Manuals is launched! Read the announcement.

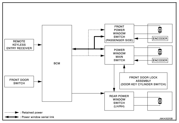
System Diagram

Fig 1: Power Window - System Diagram
G08197586Courtesy of NISSAN NORTH AMERICA, INC.