LEMON Manuals: Even more car manuals for everyone: 1960-2025
Home >> Infiniti >> 2012 >> EX35 Base, RWD >> Repair and Diagnosis >> Engine Mechanical >> Engine Mechanical System >> Preparation >> Preparation >> Special Service Tools
April 5, 2026: LEMON Manuals is launched! Read the announcement.

Special Service Tools

The actual shapes of Kent-Moore tools may differ from those of special service tools illustrated here.

Tool number
(Kent-Moore No.)
Tool name
Description
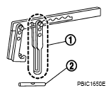
KV10116200
(J-26336-A)
Valve spring compressor
  1. KV10115900

    (J-26336-20)

    Attachment

  2. KV10109220

    (-)

    Adapter

G08193205
Disassembling valve mechanism
Part (1) is a component of KV10116200 (J-26336-A), but Part (2) is not so.
KV10107902
(J-38959)
Valve oil seal puller
G08193206
Replacing valve oil seal
KV10115600
(J-38958)
Valve oil seal drift
G08193207
Installing valve oil seal
Use side A (G). 
  1. 20 (0.79) Dia. 
  2. 13 (0.51) Dia. 
  3. 10.3 (0.406) Dia. 
  4. 8 (0.31) Dia. 
  5. 10.7 (0.421) 
  6. 5 (0.20) 

H: side B 
Unit: mm (in)
EM03470000
(J-8037)
Piston ring compressor
G08193208
Installing piston assembly into cylinder bore
ST16610001
(J-23907)
Pilot bushing puller
G08193209
Removing pilot converter
KV10111100
(J-37228)
Seal cutter
G08193210
Removing oil pan (lower and upper), front and rear timing chain case, etc.
KV10112100
(BT8653-A)
Angle wrench
G08193211
Tightening bolts for connecting rod bearing cap, cylinder head, etc. in angle
KV10114400
(J-38365)
Heated oxygen sensor wrench
G08193212
Loosening or tightening air fuel ratio sensor 1
  1. 22 mm (0.87 in) 
KV10118600
(J-48641)
Ring gear stopper
G08193213
Removing and installing crankshaft pulley