LEMON Manuals: Even more car manuals for everyone: 1960-2025
Home >> Infiniti >> 2012 >> FX50 >> Repair and Diagnosis (Single Page) >> Transmission >> Automatic Transmission >> System Description >> A/T Control System >> System Diagram
April 5, 2026: LEMON Manuals is launched! Read the announcement.

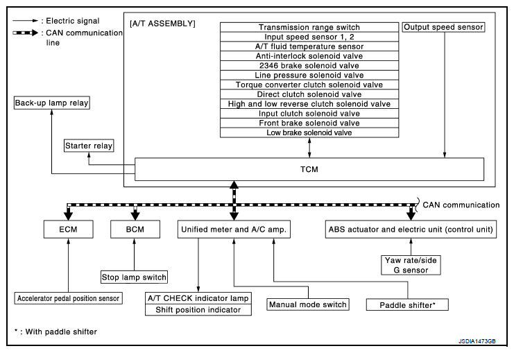
System Diagram

Fig 1: A/T Control - System Diagram
G07013412Courtesy of NISSAN NORTH AMERICA, INC.