LEMON Manuals: Even more car manuals for everyone: 1960-2025
Home >> Infiniti >> 2012 >> G25 Base >> Repair and Diagnosis >> External Pages >> Different car >> Section 94 (Interior Lighting System) >> Coupe >> System Description >> System >> Interior Room Lamp Control System >> INTERIOR ROOM LAMP CONTROL SYSTEM : System Diagram
April 5, 2026: LEMON Manuals is launched! Read the announcement.

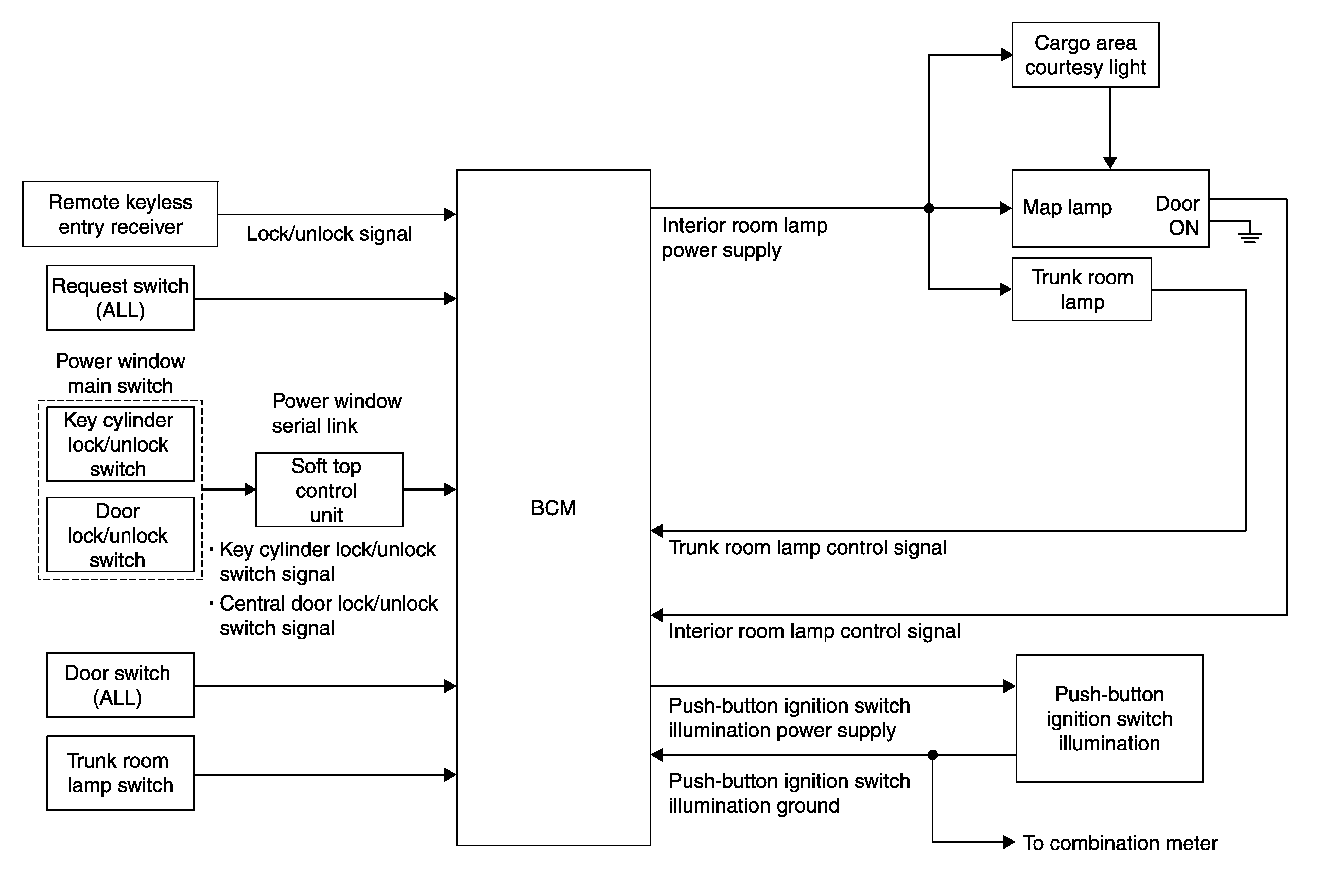
INTERIOR ROOM LAMP CONTROL SYSTEM : System Diagram

WARNING: This page is about a different car, the 2011 Nissan 370Z. However, it is still accessible from the selected car via links, so may be relevant.
Fig 1: Interior Room Lamp Control System - System Diagram
G06050686Courtesy of NISSAN MOTOR CO., U.S.A.


Fig 1: Interior Room Lamp Control System - System Diagram
G06575295Courtesy of NISSAN MOTOR CO., U.S.A.